证券之星消息,根据天眼查APP数据显示良信股份(002706)新获得一项发明专利授权,专利名为“一种断路器”,专利申请号为CN202210556011.2,授权日为2026年2月27日。

图片来源于网络,如有侵权,请联系删除
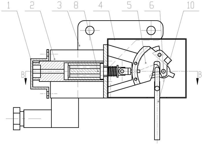
专利摘要:本申请提供一种断路器,属于低压电器技术领域,包括整体呈长方形的底座,底座内沿长度方向依次设置有拨动式的手柄、操作机构、触头系统和接线端子,手柄通过内手柄和操作机构联动,当手柄转动时可带动触头系统实现分闸或合闸;其中,接线端子包括设置在底座同一侧的进线端和出线端,手柄设置在底座与接线端子相对的另一侧手柄包括连接的驱动部和手柄杆,驱动部转动设置在底座内、且和内手柄连。将进线端和出线端均布置在断路器的后端,这种后进后出的方式,有效避免了线路的误拆拔,保证了拆拔断路器过程中的安全性。并且,通过设置拨动式的手柄满足客户的使用习惯,提高客户的满足度和体验感。
今年以来良信股份新获得专利授权31个,较去年同期减少了32.61%。结合公司2025年中报财务数据,2025上半年公司在研发方面投入了1.5亿元,同比增12.88%。

图片来源于网络,如有侵权,请联系删除
通过天眼查大数据分析,上海良信电器股份有限公司共对外投资了12家企业,参与招投标项目639次;财产线索方面有商标信息416条,专利信息3031条,著作权信息21条;此外企业还拥有行政许可81个。
数据来源:天眼查APP
以上内容为证券之星据公开信息整理,由AI算法生成(网信算备310104345710301240019号),不构成投资建议。
