证券之星消息,根据天眼查APP数据显示紫金矿业(601899)新获得一项实用新型专利授权,专利名为“一种矿山酸性废水的生物处理装置”,专利申请号为CN202520445420.4,授权日为2026年2月27日。
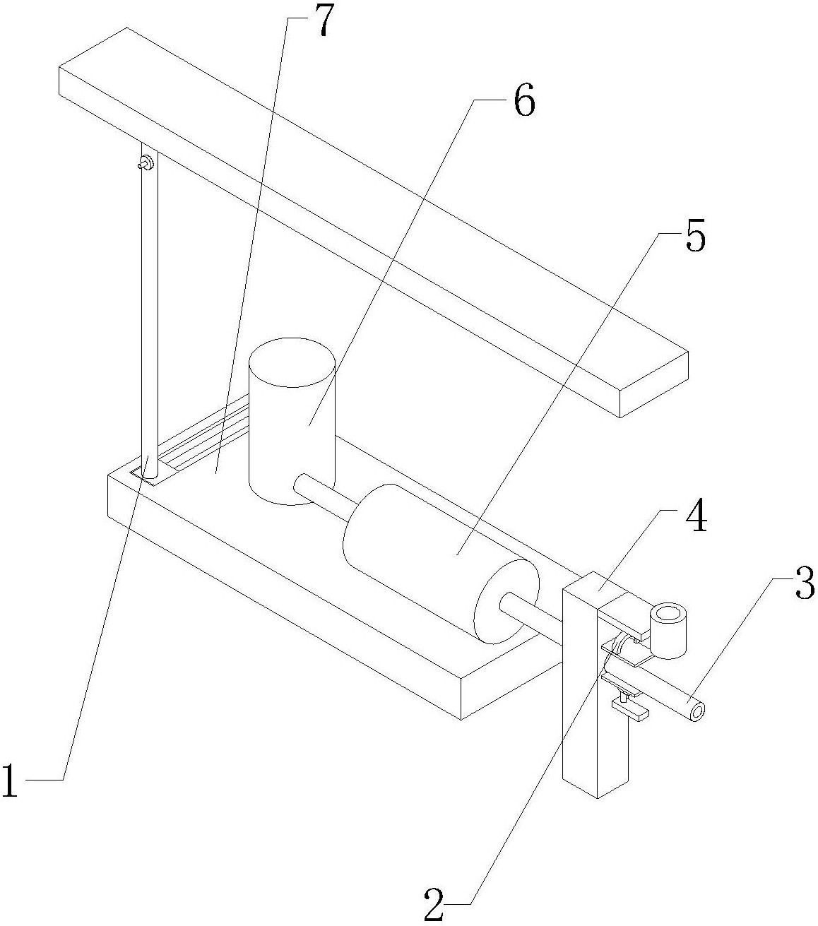
专利摘要:一种矿山酸性废水的生物处理装置,包括连接管、蠕动泵和带有空气压缩机与曝气管的曝气装置和生物氧化部件、生物还原部件及出水槽和进水槽;生物氧化部件由AMD池、一蠕动泵、内盛生物填料带有曝气装置下进上出且有利于微生物生长附着的生物氧化反应器、带有搅拌装置并可调节溶液pH值的沉铁反应器、用于沉铁反应后固液分离及溶液澄清沉淀池及一连接管组成;生物还原部件由三蠕动泵、可内部水循环和加温、测温、取样及添加菌液的生物还原反应器7、二蠕动泵及二连接管、三连接管、用于固液分离及溶液澄清的出水槽组成;进水槽接纳生物氧化处理后的废水再流向生物还原继续处理,具有在低pH值Cu损失量少的情况下净水并回收Fe与Cu、性价比高等优点。
今年以来紫金矿业新获得专利授权9个,较去年同期增加了50%。结合公司2025年中报财务数据,2025上半年公司在研发方面投入了7.5亿元,同比增5.87%。

图片来源于网络,如有侵权,请联系删除
通过天眼查大数据分析,紫金矿业集团股份有限公司共对外投资了80家企业,参与招投标项目821次;财产线索方面有商标信息617条,专利信息847条,著作权信息36条;此外企业还拥有行政许可324个。
数据来源:天眼查APP

图片来源于网络,如有侵权,请联系删除
以上内容为证券之星据公开信息整理,由AI算法生成(网信算备310104345710301240019号),不构成投资建议。

