证券之星消息,根据天眼查APP数据显示太钢不锈(000825)新获得一项实用新型专利授权,专利名为“一种不锈钢成品退火酸洗机组在线自动检测自动吹纸装置”,专利申请号为CN202520185807.0,授权日为2026年2月27日。
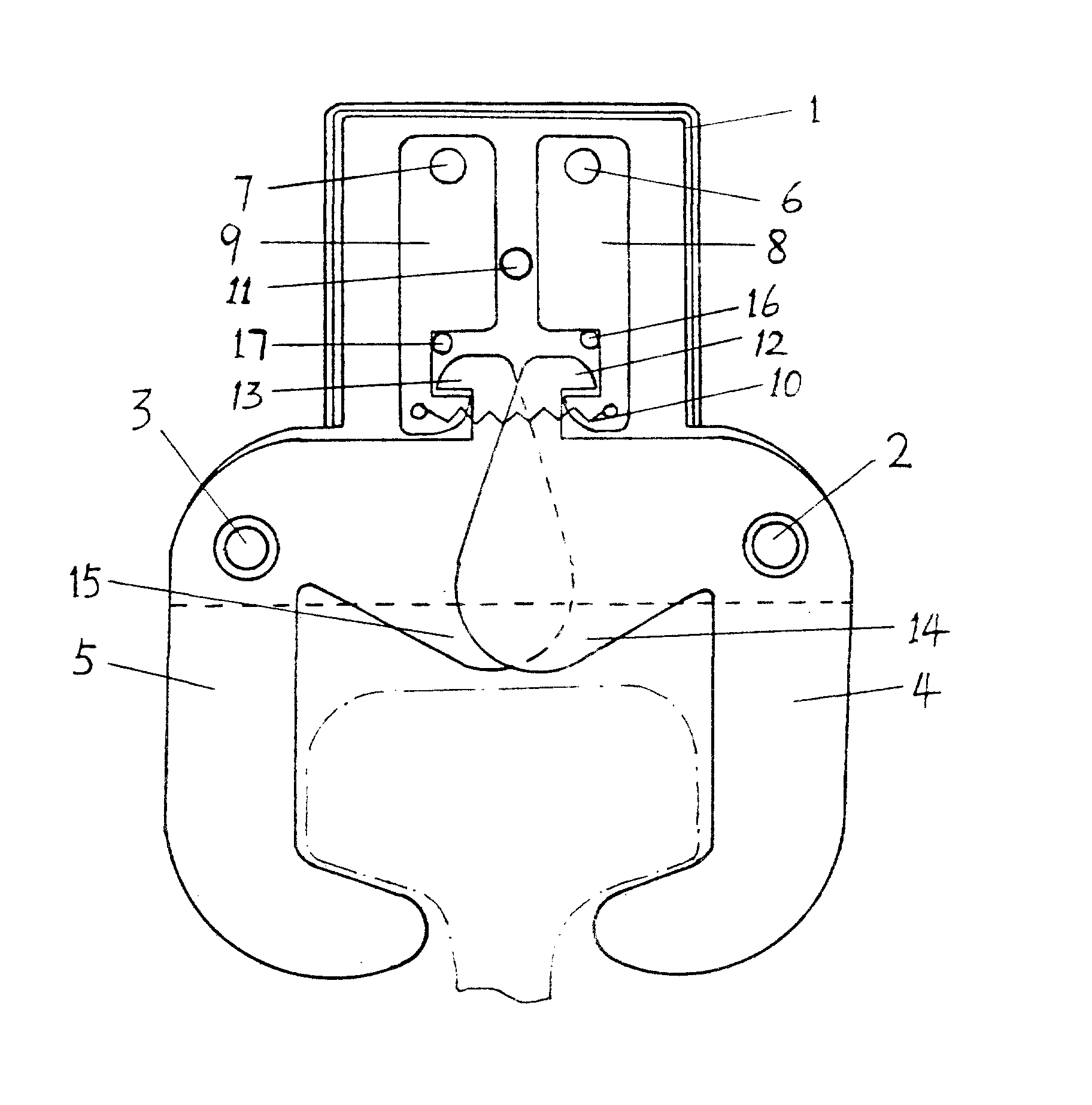
专利摘要:本实用新型涉及不锈钢连续退火酸洗机组在线自动检测领域,一种不锈钢成品退火酸洗机组在线自动检测自动吹纸装置,包括转向辊、吹扫器、断纸检测装置、PLC控制器,所述吹扫器连接带阀门的高压气进口管,所述阀门和断纸检测装置电信号连接PLC控制器,所述吹扫器3和断纸检测装置分别处于使用转向辊转向的钢带的两侧,所述吹扫器处的钢带为竖直,所述断纸检测装置处的钢带为水平。钢带离开钢卷后,PLC控制器首先通过断纸检测装置检测钢带上是否存在工艺纸,如果存在则PLC控制器控制阀门开启,高压气体通过高压气进口管进入吹扫器对工艺纸进行吹扫,剥离工艺纸。

图片来源于网络,如有侵权,请联系删除
今年以来太钢不锈新获得专利授权39个,较去年同期增加了95%。结合公司2025年中报财务数据,2025上半年公司在研发方面投入了3.98亿元,同比减18.65%。
通过天眼查大数据分析,山西太钢不锈钢股份有限公司共对外投资了35家企业,参与招投标项目36820次;财产线索方面有专利信息5204条,著作权信息12条;此外企业还拥有行政许可317个。

图片来源于网络,如有侵权,请联系删除
数据来源:天眼查APP
以上内容为证券之星据公开信息整理,由AI算法生成(网信算备310104345710301240019号),不构成投资建议。
