证券之星消息,根据天眼查APP数据显示江铃汽车(000550)新获得一项实用新型专利授权,专利名为“一种新车下线应力释放装置”,专利申请号为CN202520493770.8,授权日为2026年2月24日。
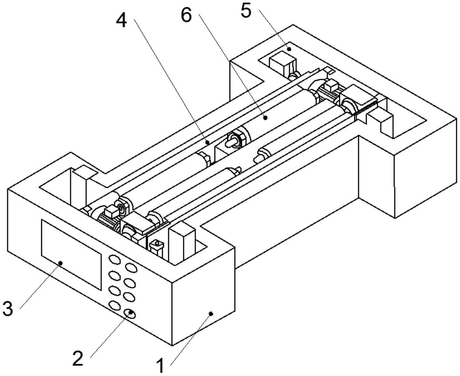
专利摘要:本申请涉及车辆生产技术领域,尤其是涉及一种新车下线应力释放装置。包括发电机碳刷室防护组件,包括基台,所述基台表面设置有沿第一方向的第一滑轨;两个第一支撑座分别与所述第一滑轨滑动连接,每一所述第一支撑座表面沿第二方向设置有第二滑轨,四个振动执行机构,每两个所述振动执行机构分别与每一所述第二滑轨滑动连接,所述振动执行机构用于支撑下线的车辆并对所述车辆提供竖直方向可调节的振动作用力,其中,所述第一方向与所述第二方向相互垂直,通过控制振动执行机构的液压作动器,对于不如的车型车辆,可以提供稳定不同振动频率、振幅及振动时间长度,避免了人为影响,使得车辆应力释放的一致性得到保障。
今年以来江铃汽车新获得专利授权39个,较去年同期增加了95%。结合公司2025年中报财务数据,2025上半年公司在研发方面投入了6.53亿元,同比增5.78%。

图片来源于网络,如有侵权,请联系删除
数据来源:天眼查APP
以上内容为证券之星据公开信息整理,由AI算法生成(网信算备310104345710301240019号),不构成投资建议。
