证券之星消息,根据天眼查APP数据显示安阳钢铁(600569)新获得一项实用新型专利授权,专利名为“一种球墨铸铁管用吊具”,专利申请号为CN202520439368.1,授权日为2026年2月13日。
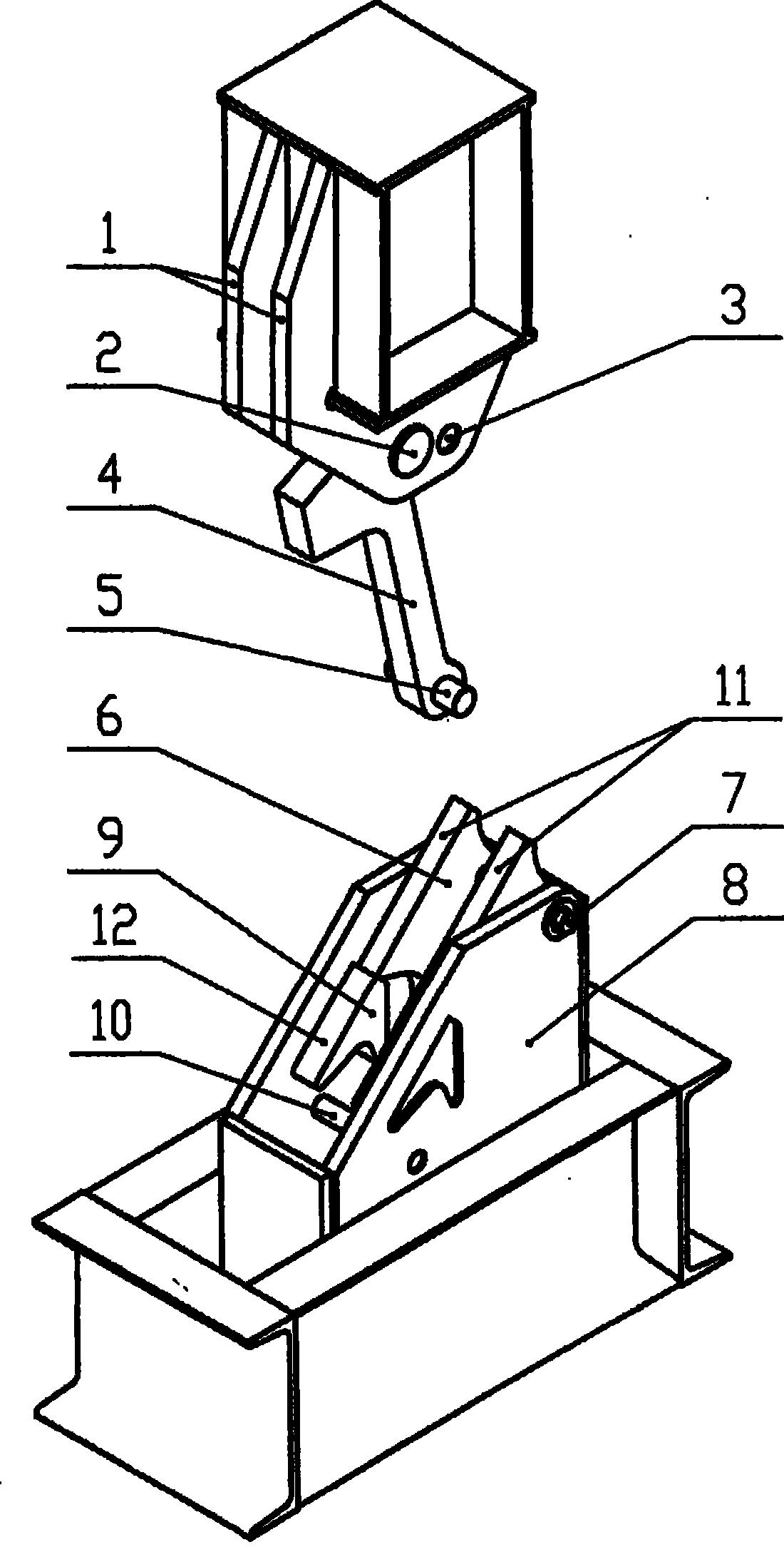
专利摘要:本实用新型公开了一种球墨铸铁管用吊具,涉及吊具技术领域,本实用新型包括固定座,所述固定座的内壁固定连接有连接桥,所述连接桥的外壁固定连接有配重块,所述连接桥远离配重块的一端外壁固定连接有升降座,所述固定座的顶部外壁设置有安装机构,本实用新型通过设置了固定销,可以通过更换不同尺寸的吊环进行设备连接,只需向上推动推钮,推钮带动固定销上升并从固定槽内脱离,再直接转动安装块并从安装槽内向上拔出即可,再将更换的吊环与安装块进行复位安装,达到了可以能够根据不同类型吊机的连接方式,自由对吊环进行快速且便捷的更换以进行适配连接,防止出现设备与吊机之间连接不当甚至无法连接的情况出现,确保稳定连接的作用。
今年以来安阳钢铁新获得专利授权21个,较去年同期增加了5%。结合公司2025年中报财务数据,2025上半年公司在研发方面投入了5.84亿元,同比增5.09%。

图片来源于网络,如有侵权,请联系删除
通过天眼查大数据分析,安阳钢铁股份有限公司共对外投资了24家企业,参与招投标项目10796次;财产线索方面有商标信息3条,专利信息1037条,著作权信息8条;此外企业还拥有行政许可600个。

图片来源于网络,如有侵权,请联系删除
数据来源:天眼查APP
以上内容为证券之星据公开信息整理,由AI算法生成(网信算备310104345710301240019号),不构成投资建议。
