证券之星消息,根据天眼查APP数据显示中国广核(003816)新获得一项实用新型专利授权,专利名为“反应堆的泄压系统”,专利申请号为CN202423323121.8,授权日为2026年1月30日。
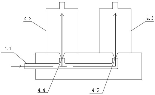
专利摘要:本申请提供了一种反应堆的泄压系统,包括堆容器、第一泄压管线、第二泄压管线以及泄压箱。堆容器内部具有用于填充保护气体的腔室。第一泄压管线与所述腔室连接,所述第一泄压管线设置有电动阀。第二泄压管线与所述腔室连接,所述第二泄压管线设置有第一安全阀。泄压箱分别与所述第一泄压管线和所述第二泄压管线连接,所述泄压箱的内部设置有用于喷射冷却水的喷淋装置。本申请中的泄压系统能够实现精准的分级可控泄压,在应对瞬时超高压时也可以实现快速泄压,并且还在泄压箱中对泄压后的排放物进行降温、降压和吸收,避免放射性物质泄漏。
今年以来中国广核新获得专利授权12个,较去年同期减少了42.86%。结合公司2025年中报财务数据,2025上半年公司在研发方面投入了5.24亿元,同比增67.68%。

图片来源于网络,如有侵权,请联系删除
通过天眼查大数据分析,中国广核电力股份有限公司共对外投资了33家企业,参与招投标项目441次;财产线索方面有专利信息7489条,著作权信息851条;此外企业还拥有行政许可14个。

图片来源于网络,如有侵权,请联系删除
数据来源:天眼查APP
以上内容为证券之星据公开信息整理,由AI算法生成(网信算备310104345710301240019号),不构成投资建议。

