证券之星消息,根据天眼查APP数据显示亿纬锂能(300014)新获得一项实用新型专利授权,专利名为“一种垫片组件”,专利申请号为CN202520456339.6,授权日为2026年1月23日。
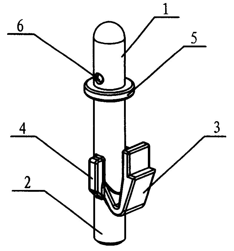
专利摘要:本实用新型公开了一种垫片组件,包括第一垫片,第一垫片的两侧分别设有第一连接件;第二垫片,第二垫片设有至少一对,每个第一垫片均可夹持于一对第二垫片之间,每个第二垫片上均设第二连接件以及圆弧面,第二连接件与第一连接件可拆卸连接,以使第一垫片与第二垫片连接呈第一使用状态或者拆离呈第二使用状态;圆弧面在第一使用状态时与电池的两侧贴合。该第一垫片与第二垫片可通过第一连接件与第二连接件连接或是拆离,使得第一垫片与至少一对第二垫片能够依据电芯的形状灵活组合,以使整个垫片组件可兼顾不同形状的电芯,适用范围广。
今年以来亿纬锂能新获得专利授权60个,较去年同期增加了100%。结合公司2025年中报财务数据,2025上半年公司在研发方面投入了12.61亿元,同比减11.33%。

图片来源于网络,如有侵权,请联系删除
通过天眼查大数据分析,惠州亿纬锂能股份有限公司共对外投资了49家企业,参与招投标项目223次;财产线索方面有商标信息406条,专利信息4390条,著作权信息92条;此外企业还拥有行政许可421个。

图片来源于网络,如有侵权,请联系删除
数据来源:天眼查APP
以上内容为证券之星据公开信息整理,由AI算法生成(网信算备310104345710301240019号),不构成投资建议。

