证券之星消息,根据天眼查APP数据显示永创智能(603901)新获得一项实用新型专利授权,专利名为“一种封口调节机构”,专利申请号为CN202520383357.6,授权日为2026年1月23日。
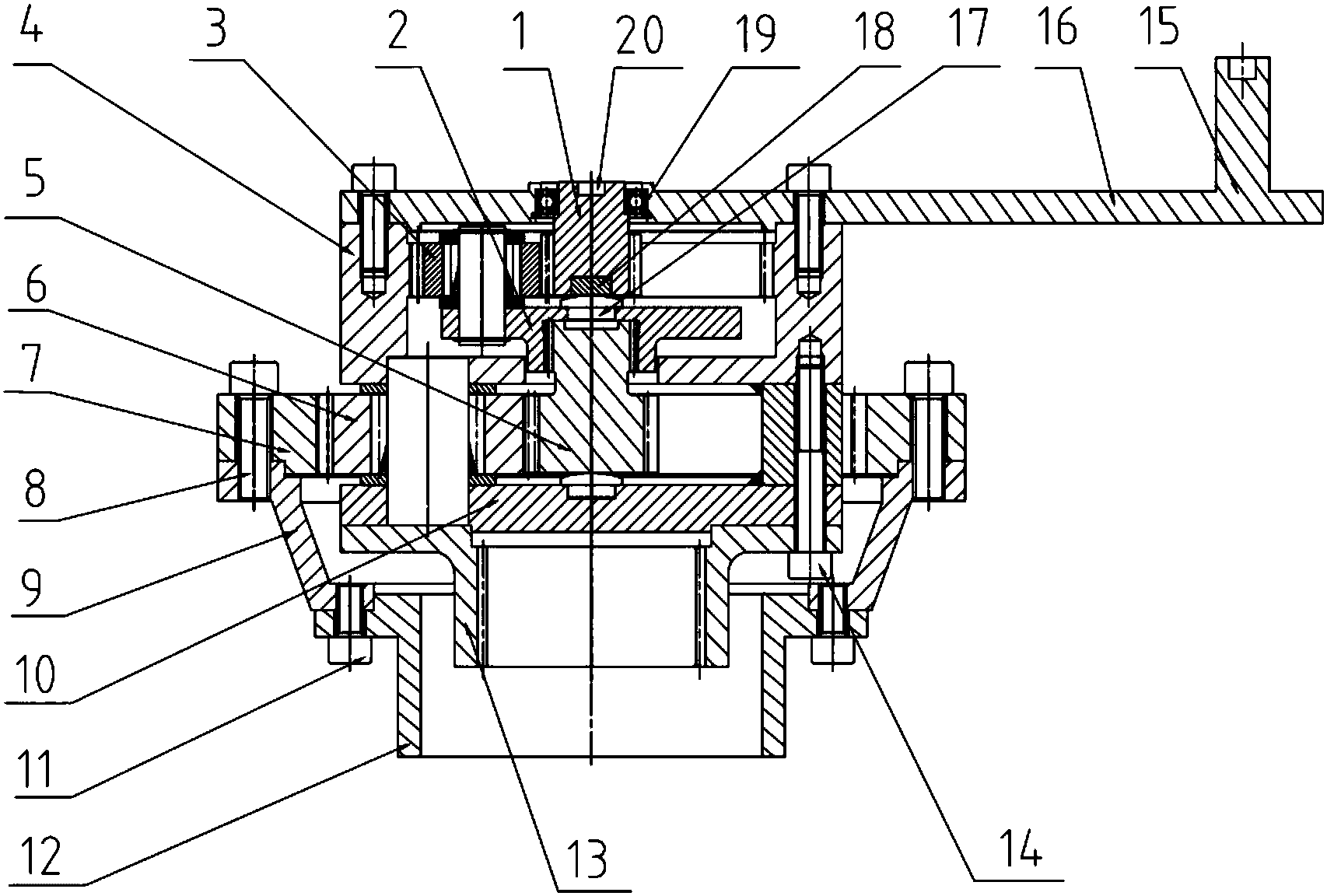
专利摘要:本实用新型提供了一种封口调节机构。它解决了现有设备通常仅能够对一种长度的袋子进行封口的问题。本实用新型包括机架,该机架一侧设置有用于供膜的膜卷,该机架上沿送膜方向依次设置有送膜组件、第一拉膜组件、第二拉膜组件及用于切断膜的切刀组件,所述第一拉膜组件与第二拉膜组件之间活动设置用于对膜进行封口的封口机构,该封口机构通过滑轨活动设置在机架上,且该机架上设置有用于驱动上述封口机构在第一拉膜组件与第二拉膜组件之间移动的调节组件,通过调节组件调节封口机构在机架上的位置能够方便的调节需要膜的长度,调节较为方便,可以得到各种长度的袋子,适用范围广,通用性强,有效节约成本。
今年以来永创智能新获得专利授权11个,较去年同期增加了120%。结合公司2025年中报财务数据,2025上半年公司在研发方面投入了1.24亿元,同比增3.08%。

图片来源于网络,如有侵权,请联系删除
通过天眼查大数据分析,杭州永创智能设备股份有限公司共对外投资了44家企业,参与招投标项目1083次;财产线索方面有商标信息80条,专利信息975条,著作权信息81条;此外企业还拥有行政许可40个。
数据来源:天眼查APP
以上内容为证券之星据公开信息整理,由AI算法生成(网信算备310104345710301240019号),不构成投资建议。

图片来源于网络,如有侵权,请联系删除
