证券之星消息,根据天眼查APP数据显示昊志机电(300503)新获得一项实用新型专利授权,专利名为“一种主轴冷却结构、主轴和机床”,专利申请号为CN202423066388.3,授权日为2025年11月7日。
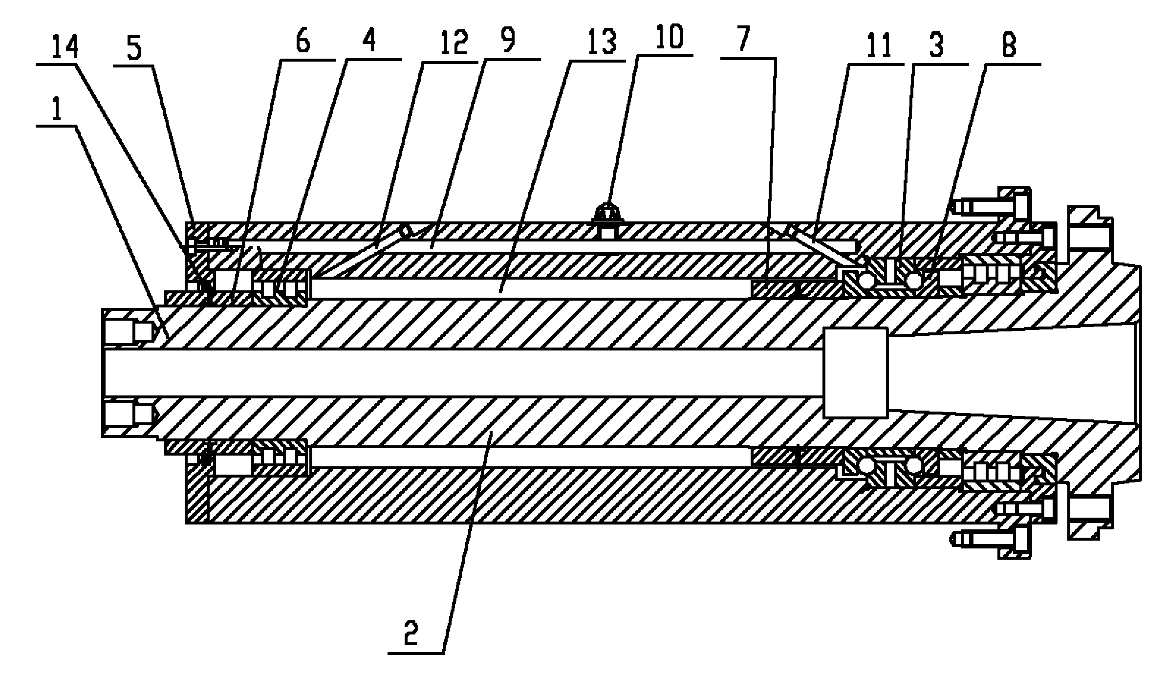
专利摘要:本实用新型公开了一种主轴冷却结构、主轴和机床,包括轴芯和拉杆,轴芯设有轴芯内孔,轴芯内孔包括位于轴芯前端的轴芯内套孔,轴芯内套孔中设有轴芯内套,拉杆设置于轴芯内孔,拉杆的前端穿过轴芯内套,拉杆与轴芯内套之间设有第一环槽,轴芯内套与轴芯之间设有第二环槽,轴芯内套设有连通第一环槽和第二环槽的第一过孔,拉杆设有拉杆内孔,拉杆内孔的孔壁设有与第一环槽连通的第二过孔,轴芯设有与第二环槽连通的冷却液流道。本实用新型通过拉杆、轴芯内套和轴芯内部流动的冷却液,形成一道隔热层,该隔热层降低了轴芯后端和转子产生的热量向轴芯前端地传递,降低了大功率高电主轴在加工过程中,轴承和定、转子产生的热量对主轴热伸长的影响。
今年以来昊志机电新获得专利授权22个,较去年同期减少了12%。结合公司2025年中报财务数据,今年上半年公司在研发方面投入了5286.93万元,同比增13.31%。

图片来源于网络,如有侵权,请联系删除
通过天眼查大数据分析,广州市昊志机电股份有限公司共对外投资了9家企业,参与招投标项目105次;财产线索方面有商标信息196条,专利信息889条,著作权信息16条;此外企业还拥有行政许可119个。
数据来源:天眼查APP
以上内容为证券之星据公开信息整理,由AI算法生成(网信算备310104345710301240019号),不构成投资建议。
