证券之星消息,根据天眼查APP数据显示联特科技(301205)新获得一项实用新型专利授权,专利名为“具有矫正功能的取放料装置及烧录设备”,专利申请号为CN202423099724.4,授权日为2025年11月4日。
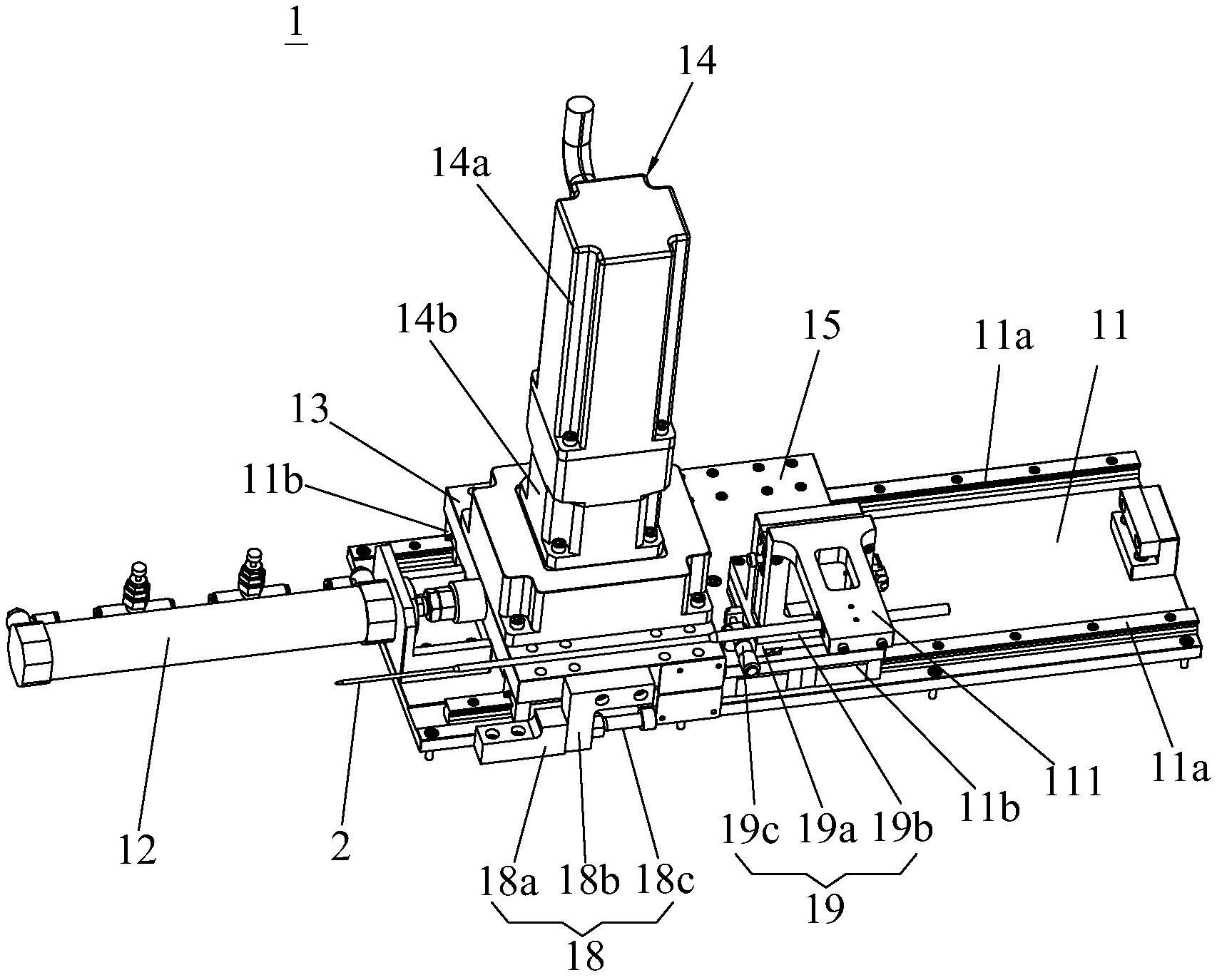
专利摘要:本实用新型公开了一种具有矫正功能的取放料装置及烧录设备;所述取放料装置包括支座和取放料机构,所述取放料机构设置在所述支座上,还包括矫正机构,所述矫正机构设置在所述支座上且位于所述取放料机构的一侧,所述取放料机构包括取料夹以及用于驱动取料夹在取料位和矫正位之间切换的取放料驱动单元,所述矫正机构包括用于矫正待加工板材位置的矫正夹以及用于驱动所述矫正夹靠近或远离矫正位的矫正驱动单元。本实用新型包括取放料机构和矫正机构,在取料夹将待加工板材移动至矫正位时,矫正夹可以在矫正驱动单元的作用下朝向矫正位移动,进而对待加工板材进行夹持矫正,使得待加工板材进入下一工序前呈水平放置,保证下一工序的正常运行。

图片来源于网络,如有侵权,请联系删除
今年以来联特科技新获得专利授权21个,较去年同期减少了27.59%。结合公司2025年中报财务数据,今年上半年公司在研发方面投入了4599.18万元,同比增90.78%。

图片来源于网络,如有侵权,请联系删除
通过天眼查大数据分析,武汉联特科技股份有限公司共对外投资了1家企业,参与招投标项目9次;财产线索方面有商标信息14条,专利信息338条,著作权信息10条;此外企业还拥有行政许可93个。
数据来源:天眼查APP
以上内容为证券之星据公开信息整理,由AI算法生成(网信算备310104345710301240019号),不构成投资建议。
