证券之星消息,根据天眼查APP数据显示洛阳钼业(603993)新获得一项实用新型专利授权,专利名为“一种三维扫描孔内设备的自动升降装置”,专利申请号为CN202423136416.4,授权日为2025年10月21日。
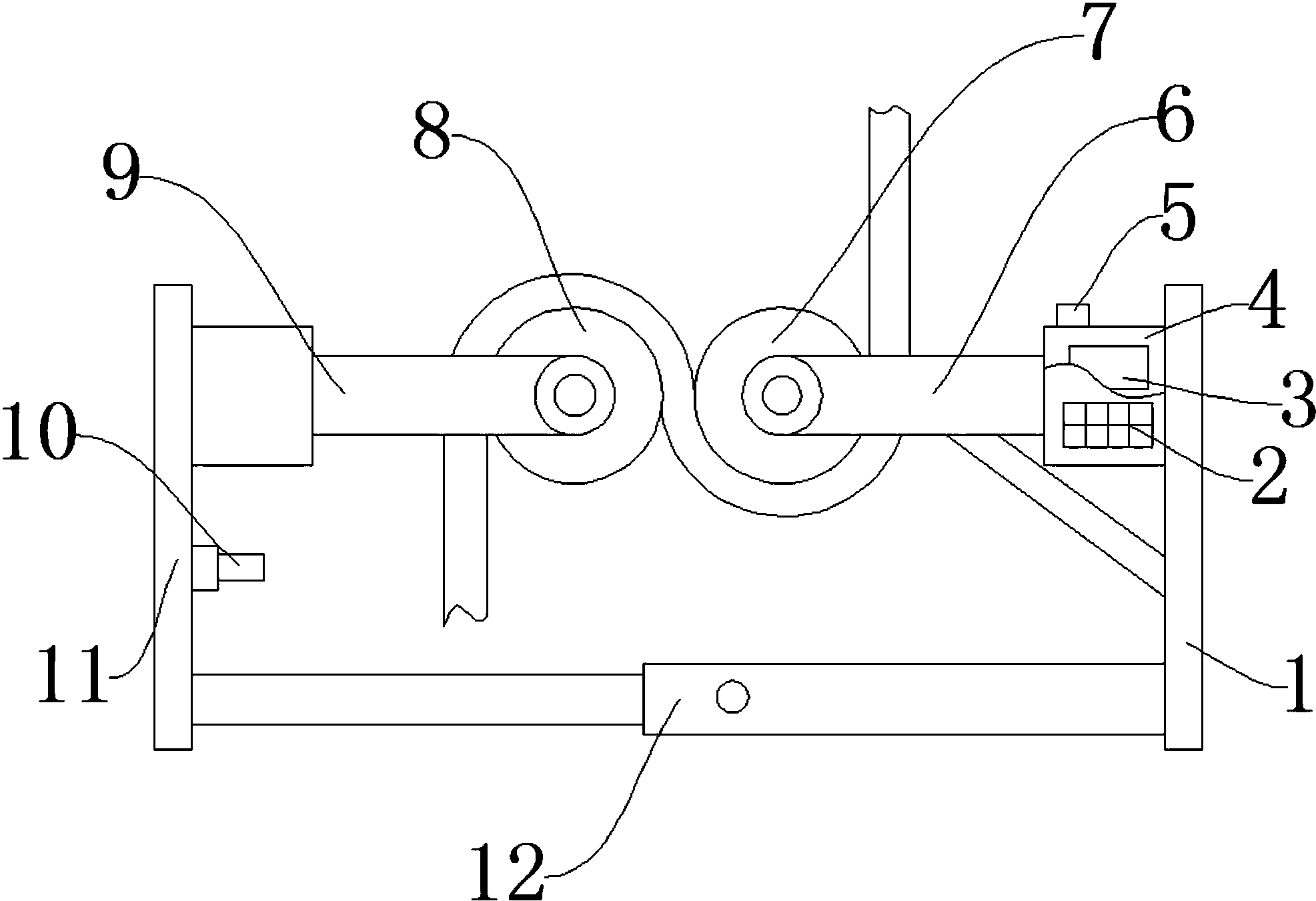
专利摘要:本实用新型公开了一种三维扫描孔内设备的自动升降装置,包括支撑台,所述三维扫描探测杆外壁下端开设有螺纹拼接槽,所述第一伸缩槽内壁插合安装有伸缩块,且伸缩块、第一伸缩槽和第二伸缩槽之间连接有支撑弹簧。该三维扫描孔内设备的自动升降装置可以通过锁紧旋钮、支撑槽将支撑架进行稳定支撑展开,放置稳定,并且控制器进行模块化手持控制,可以远离空区正上方操作,更安全,而且吊装绳可以通过导轮、定位槽和定滑轮进行限位伸缩,吊装更稳定,而且三维扫描探测杆可以通过第二伸缩槽包裹防护,使用更安全,并且可以通过第一伸缩槽、第二伸缩槽、支撑弹簧、伸缩块和滑轮进行弹性滑动支撑,下降更稳定,避免碰撞。

图片来源于网络,如有侵权,请联系删除
今年以来洛阳钼业新获得专利授权35个,较去年同期增加了34.62%。结合公司2025年中报财务数据,今年上半年公司在研发方面投入了2.19亿元,同比增59.78%。
通过天眼查大数据分析,洛阳栾川钼业集团股份有限公司共对外投资了34家企业,参与招投标项目210次;财产线索方面有商标信息316条,专利信息418条,著作权信息3条;此外企业还拥有行政许可218个。
数据来源:天眼查APP
以上内容为证券之星据公开信息整理,由AI算法生成(网信算备310104345710301240019号),不构成投资建议。
