证券之星消息,根据天眼查APP数据显示大博医疗(002901)新获得一项外观设计专利授权,专利名为“椎弓根螺钉(远端多孔摆角)”,专利申请号为CN202530010805.3,授权日为2025年10月21日。
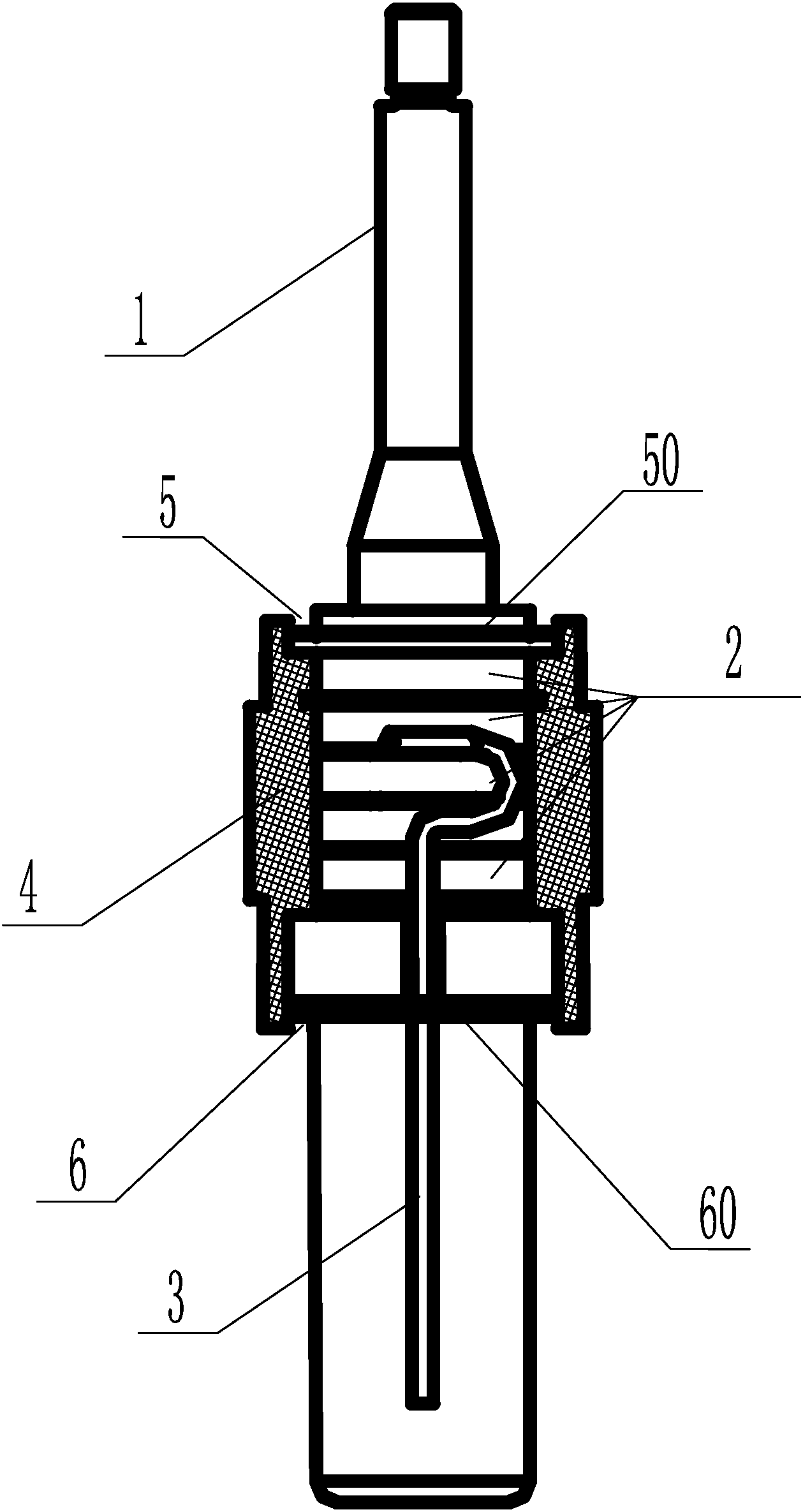
专利摘要:1.本外观设计产品的名称:椎弓根螺钉(远端多孔摆角)。2.本外观设计产品的用途:用于脊柱的稳定和固定,作为与骨移植融合的辅助手段。3.本外观设计产品的设计要点:在于形状。4.最能表明设计要点的图片或照片:立体图。

图片来源于网络,如有侵权,请联系删除
今年以来大博医疗新获得专利授权25个,较去年同期增加了92.31%。结合公司2025年中报财务数据,今年上半年公司在研发方面投入了1.6亿元,同比增17.66%。
通过天眼查大数据分析,大博医疗科技股份有限公司共对外投资了23家企业,参与招投标项目961次;财产线索方面有商标信息42条,专利信息352条,著作权信息2条;此外企业还拥有行政许可265个。
数据来源:天眼查APP
以上内容为证券之星据公开信息整理,由AI算法生成(网信算备310104345710301240019号),不构成投资建议。
