证券之星消息,根据天眼查APP数据显示东方电缆(603606)新获得一项发明专利授权,专利名为“一种海洋缆的轴向压缩测试装置及测试方法”,专利申请号为CN202510010487.X,授权日为2025年10月3日。

图片来源于网络,如有侵权,请联系删除
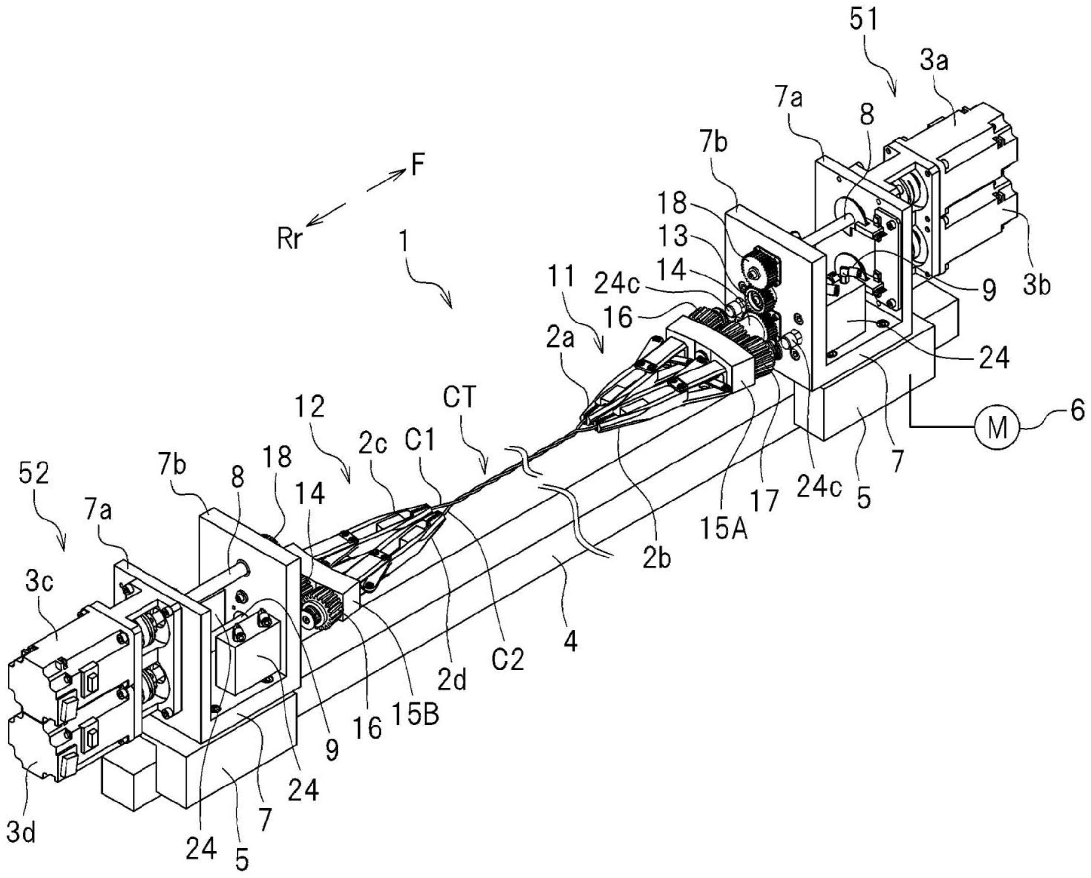
专利摘要:本发明的实施例提供了一种海洋缆的轴向压缩测试装置及测试方法,涉及海洋缆领域。该海洋缆的轴向压缩测试装置包括第一端限位夹、第二端限位夹、中间限位夹、力值制动器与旋转制动器,第一端限位夹夹持在海洋缆的第一端,第二端限位夹夹持在海洋缆的第二端,中间限位夹夹持在海洋缆的中部。本发明实施例的测试装置利用第一端限位夹与第二端限位夹分别夹持在海洋缆的两端,然后利用旋转制动器使海洋缆处于不同的弯曲状况下,同时通过力值制动器对海洋缆施加轴向压力,从而更真实的模拟海洋缆在实际情况下的受力,以便于更准确地测得海洋缆的轴向压缩值。本发明的实施例还提供了一种测试方法,基于所述的轴向压缩测试装置实现。
今年以来东方电缆新获得专利授权29个,较去年同期减少了12.12%。结合公司2025年中报财务数据,今年上半年公司在研发方面投入了1.35亿元,同比减3.96%。

图片来源于网络,如有侵权,请联系删除
通过天眼查大数据分析,宁波东方电缆股份有限公司共对外投资了15家企业,参与招投标项目2871次;财产线索方面有商标信息11条,专利信息349条,著作权信息6条;此外企业还拥有行政许可180个。
数据来源:天眼查APP
以上内容为证券之星据公开信息整理,由AI算法生成(网信算备310104345710301240019号),不构成投资建议。
