证券之星消息,根据天眼查APP数据显示嘉亨家化(300955)新获得一项实用新型专利授权,专利名为“一种挤吹结构”,专利申请号为CN202422777317.8,授权日为2025年9月26日。

图片来源于网络,如有侵权,请联系删除
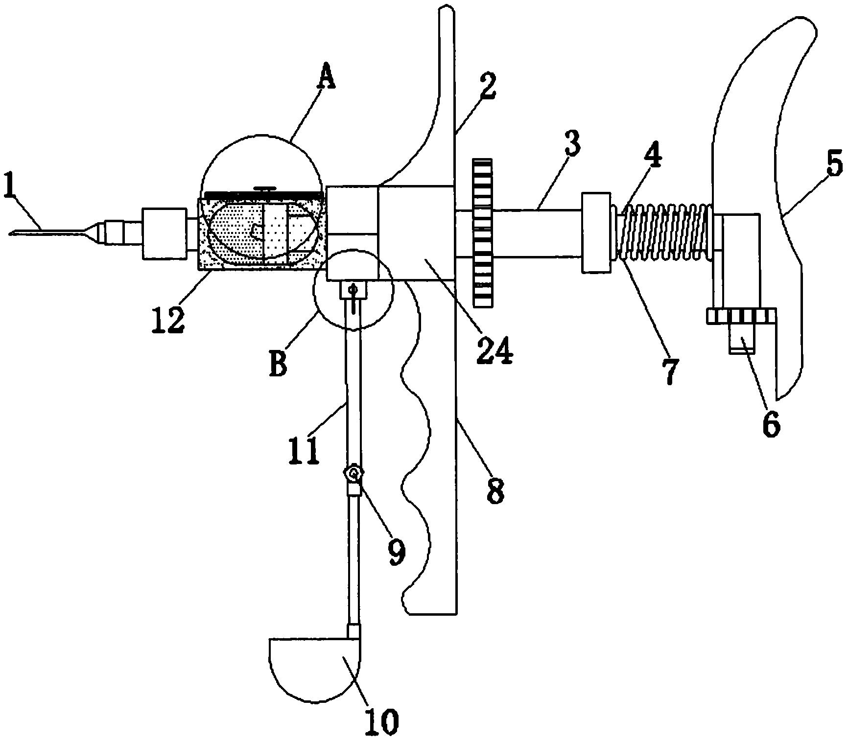
专利摘要:本实用新型涉及模具结构,具体涉及一种挤吹结构,包括吹气杆,所述吹气杆包括切料环、吹针、吹气针和吹针头,所述吹针的一端与所述切料环相连,所述吹针的另一端与所述吹针头相连,所述吹针头的侧壁上开设有至少一个的吹气孔;设置吹针头与吹针相连,在吹针头的侧壁上开设至少一个的吹气孔,利用该吹气孔进行吹塑,由于气体从吹针头的侧壁吹出,而非吹针的底部,能够避免一些平肩的小口径产品的颈部出现积料的情况。
今年以来嘉亨家化新获得专利授权6个,较去年同期减少了53.85%。结合公司2025年中报财务数据,今年上半年公司在研发方面投入了1681.25万元,同比增2.59%。
通过天眼查大数据分析,嘉亨家化股份有限公司共对外投资了2家企业,参与招投标项目9次;财产线索方面有商标信息63条,专利信息206条,著作权信息4条;此外企业还拥有行政许可15个。

图片来源于网络,如有侵权,请联系删除
数据来源:天眼查APP
以上内容为证券之星据公开信息整理,由AI算法生成(网信算备310104345710301240019号),不构成投资建议。
