证券之星消息,根据天眼查APP数据显示迈赫股份(301199)新获得一项实用新型专利授权,专利名为“一种芽苗菜循环用水水处理设备”,专利申请号为CN202422609627.9,授权日为2025年9月26日。
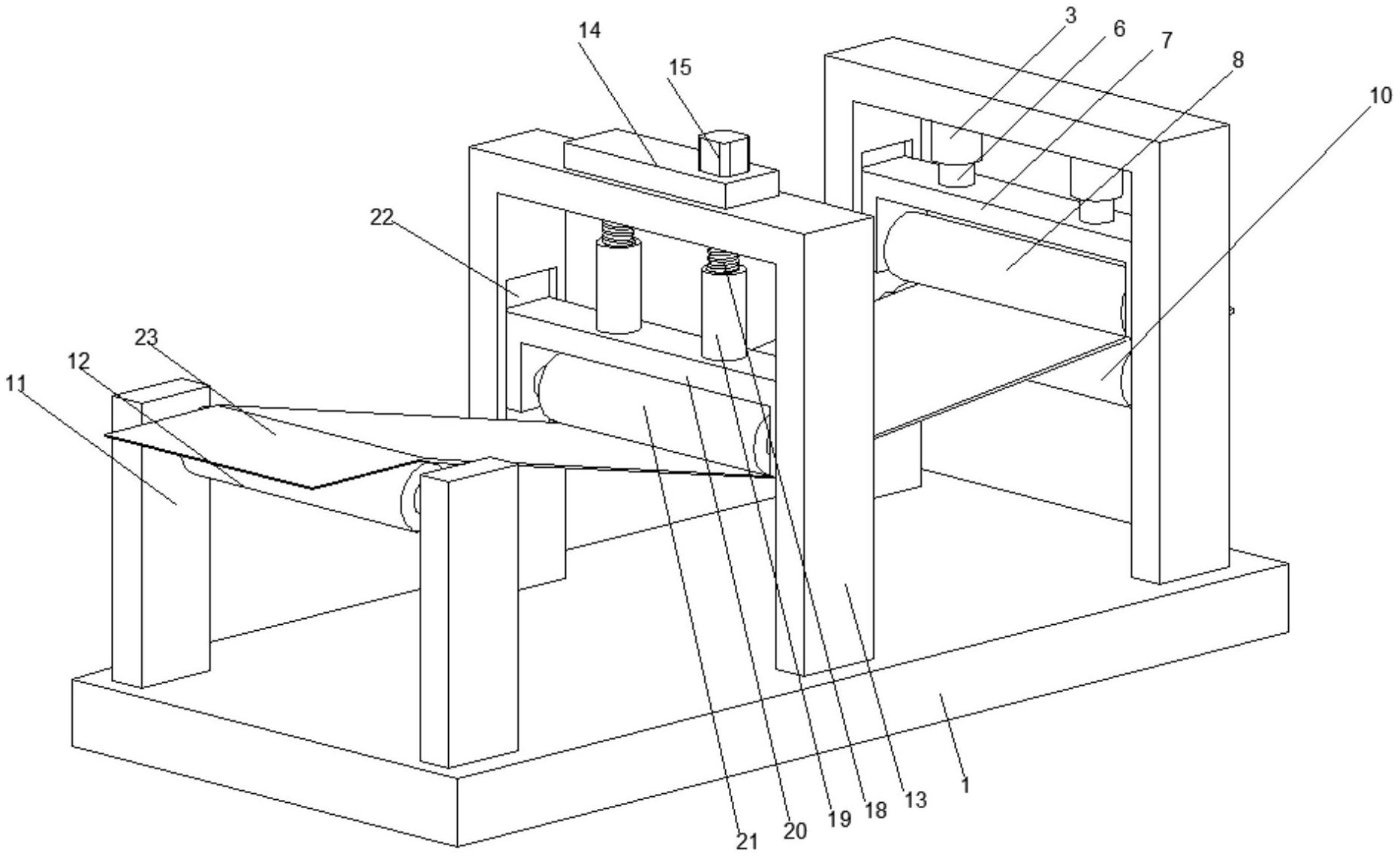
专利摘要:本实用属于农业生产设备及污水处理技术领域,具体涉及一种芽苗菜循环用水处理设备,包括壳体,壳体的顶部固定安装有固定架,壳体和固定架顶部之间固定安装有第一槽体,且第一槽体与外部供水系统相连通,第一槽体内设置有过滤网,过滤网将第一槽体分隔成沉淀过滤区和紫外杀菌区,第一槽体的下方设置有第二槽体,第二槽体内设置有溢流堰隔板,溢流堰隔板将第二槽体分隔成生化处理区和杀菌沉淀区,第一槽体位于紫外杀菌区的底部固定连通有出水管,出水管的另一端延伸至生化处理区内部下方,生化处理区内设置有活性污泥,杀菌沉淀区内设置有与外部装置相连通的出水组件;本实用新型不仅处理过程环保高效,同时能够根据芽苗菜废水水质动态变化调整。

图片来源于网络,如有侵权,请联系删除
今年以来迈赫股份新获得专利授权20个,较去年同期增加了17.65%。结合公司2025年中报财务数据,今年上半年公司在研发方面投入了2024.64万元,同比减34.38%。

图片来源于网络,如有侵权,请联系删除
通过天眼查大数据分析,迈赫机器人自动化股份有限公司共对外投资了2家企业,参与招投标项目264次;财产线索方面有商标信息117条,专利信息385条,著作权信息43条;此外企业还拥有行政许可42个。
数据来源:天眼查APP
以上内容为证券之星据公开信息整理,由AI算法生成(网信算备310104345710301240019号),不构成投资建议。
