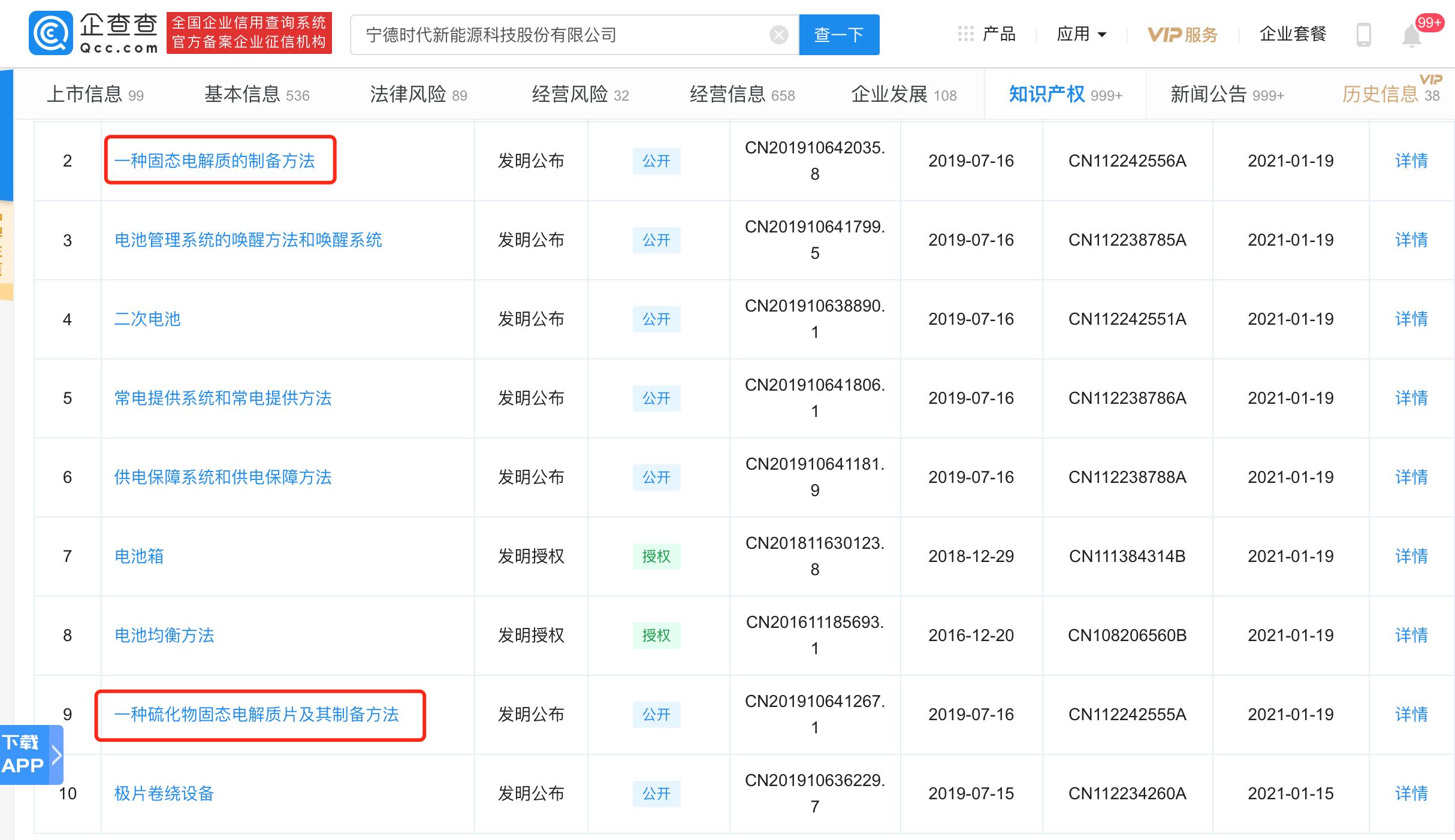
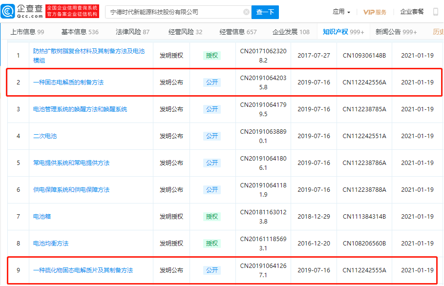
证券之星消息,根据企查查数据显示宁德时代(300750)公布了一项国际专利申请,专利名为“吸嘴安装设备和化成机”,专利申请号为PCT/CN2024/113053,国际公布日为2025年9月18日。
专利详情如下:


图片来源于网络,如有侵权,请联系删除
图片来源:世界知识产权组织(WIPO)
今年以来宁德时代已公布的国际专利申请1136个,较去年同期增加了25.66%。结合公司2025年中报财务数据,今年上半年公司在研发方面投入了100.95亿元,同比增17.48%。
数据来源:企查查

图片来源于网络,如有侵权,请联系删除
以上内容为证券之星据公开信息整理,由AI算法生成(网信算备310104345710301240019号),不构成投资建议。

