证券之星消息,根据天眼查APP数据显示美亚光电(002690)新获得一项发明专利授权,专利名为“手术机器人及其控制装置、方法”,专利申请号为CN202410938992.6,授权日为2025年9月19日。

图片来源于网络,如有侵权,请联系删除
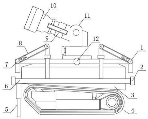
专利摘要:本发明公开了一种手术机器人及其控制装置、方法,涉及医疗器械技术领域,手术机器人包括机械臂和进针组件,进针组件包括依次连接的进给部件、旋转部件和夹持部件,进给部件连接机械臂的自由端,控制装置包括:获取模块,用于获取夹持部件夹持的克氏针与目标骨头的相对位置,以及目标进针方向;确定模块,用于根据相对位置、目标骨头的类型、目标进针方向和克氏针的目标进针深度,确定旋转部件和进给部件的目标控制策略;控制模块,用于按照目标控制策略对旋转部件和进给部件进行控制,以实现克氏针植入目标骨头。该控制装置可实现骨科手术中克氏针的自动植入,进而可提高手术效率。
今年以来美亚光电新获得专利授权31个,较去年同期减少了35.42%。结合公司2025年中报财务数据,今年上半年公司在研发方面投入了7000.13万元,同比增19.32%。

图片来源于网络,如有侵权,请联系删除
通过天眼查大数据分析,合肥美亚光电技术股份有限公司共对外投资了8家企业,参与招投标项目12394次;财产线索方面有商标信息97条,专利信息842条,著作权信息70条;此外企业还拥有行政许可81个。
数据来源:天眼查APP
以上内容为证券之星据公开信息整理,由AI算法生成(网信算备310104345710301240019号),不构成投资建议。
