证券之星消息,根据天眼查APP数据显示意华股份(002897)新获得一项发明专利授权,专利名为“一种电连接器组件”,专利申请号为CN202010869808.9,授权日为2025年9月5日。

图片来源于网络,如有侵权,请联系删除
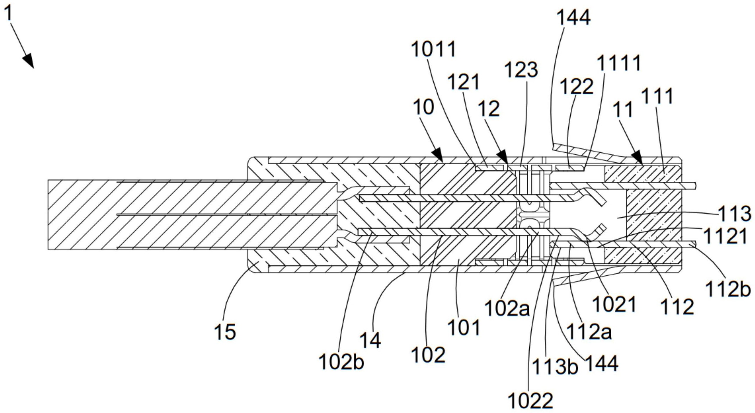
专利摘要:一种电连接器组件,用于固定至对接电路板并与对接连接器实现信号传输,电连接器组件包括信号端子片及接地端子片。信号端子片包括绝缘本体及与绝缘本体固定的若干个信号端子。接地端子片包括本体部及与本体部固定的至少一个接地端子。若干个所述信号端子片与若干个所述接地端子片堆叠设置形成端子模块,至少两个相邻的所述接地端子片之间堆叠设置有两个信号端子片。夹持于相邻两个所述接地端子片之间的两个所述信号端子片的信号端子之中包括至少一对高速差分信号端子。各接地端子片的本体部的外表面形成有导电的屏蔽层。本申请电连接器组件具有更好的抗干扰能力。

图片来源于网络,如有侵权,请联系删除
今年以来意华股份新获得专利授权24个,较去年同期增加了118.18%。结合公司2025年中报财务数据,今年上半年公司在研发方面投入了1.2亿元,同比增11.96%。
通过天眼查大数据分析,温州意华接插件股份有限公司共对外投资了14家企业,参与招投标项目13次;财产线索方面有商标信息6条,专利信息443条;此外企业还拥有行政许可16个。
数据来源:天眼查APP
以上内容为证券之星据公开信息整理,由AI算法生成(网信算备310104345710301240019号),不构成投资建议。
