证券之星消息,根据天眼查APP数据显示威马农机(301533)新获得一项实用新型专利授权,专利名为“出雪口转向总成”,专利申请号为CN202422636941.6,授权日为2025年8月26日。

图片来源于网络,如有侵权,请联系删除
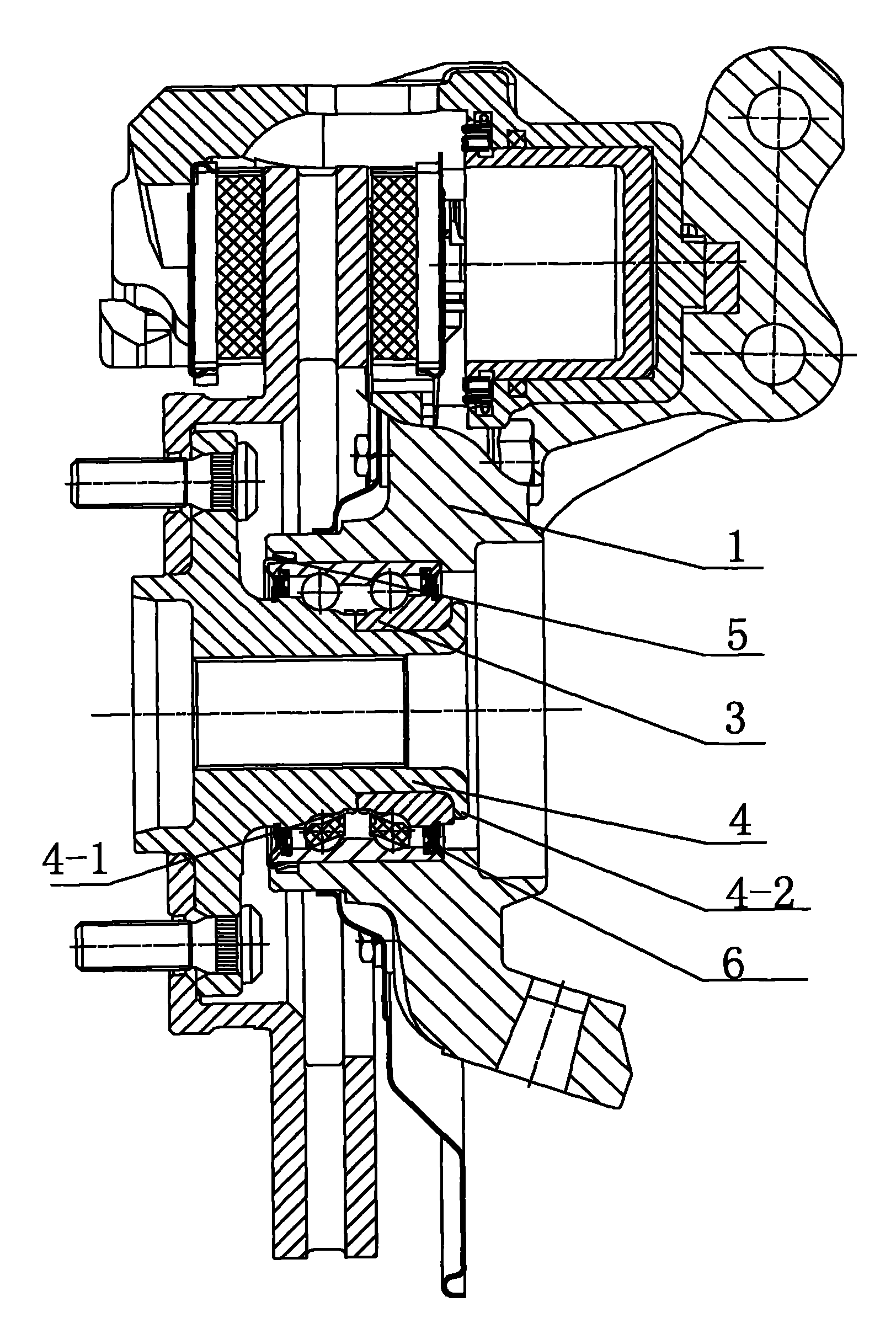
专利摘要:本实用新型涉及一种出雪口转向总成,包括扬雪筒、支撑板和单向锁止件,所述扬雪筒转动配合设置于支撑板,所述支撑板上设置有转向机构,所述转向机构用于驱使扬雪筒转动,所述单向锁止件具有单向锁止部,所述单向锁止部用于限制扬雪筒单向转动,通过设置单向锁止件,使单向锁止件的单向锁止部限制扬雪筒单向转动,实现单向锁止,使动力传递只能通过转向机构传递到扬雪筒,而不是可以通过扬雪筒反向传递到转向机构,提高稳定性和安全性。
今年以来威马农机新获得专利授权7个,较去年同期减少了61.11%。结合公司2025年中报财务数据,今年上半年公司在研发方面投入了1760.37万元,同比增30.85%。
通过天眼查大数据分析,威马农机股份有限公司共对外投资了7家企业,参与招投标项目47次;财产线索方面有商标信息119条,专利信息390条,著作权信息1条;此外企业还拥有行政许可41个。
数据来源:天眼查APP
以上内容为证券之星据公开信息整理,由AI算法生成(网信算备310104345710301240019号),不构成投资建议。
