证券之星消息,根据天眼查APP数据显示上汽集团(600104)新获得一项实用新型专利授权,专利名为“车辆底盘测试装置”,专利申请号为CN202422350273.0,授权日为2025年8月26日。
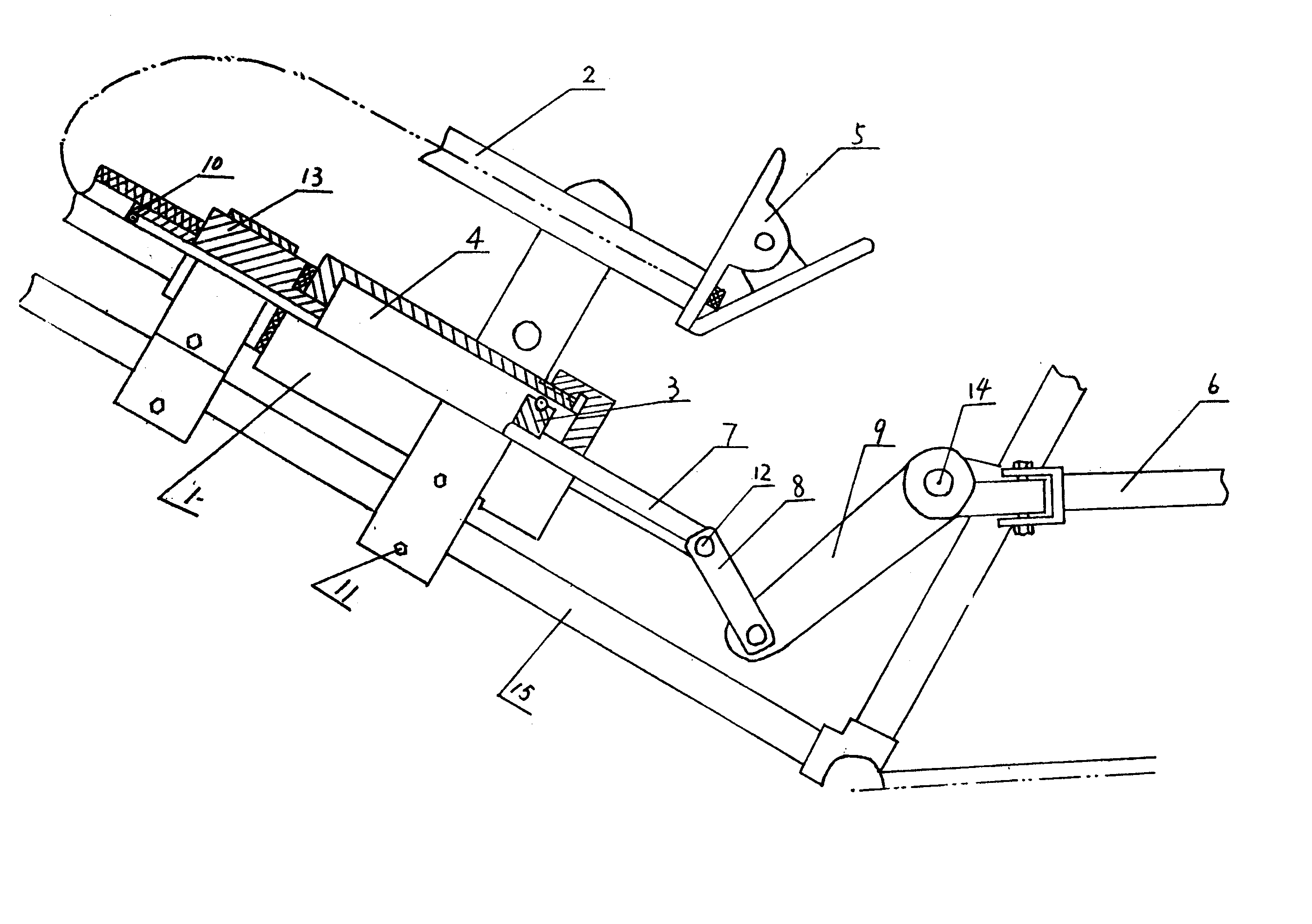
专利摘要:本实用新型公开了一种车辆底盘测试装置,包括安装座以及沿第一方向相对设置的一对车轮安装部件,每个车轮安装部件包括车轮放置台和车轮安装基座,车轮放置台用于放置车轮。并且,车辆底盘测试装置还包括与一对车轮安装部件相对应的车轮端载荷模拟装置,车轮端载荷模拟装置包括连接于对应车轮安装部件上,可联动车轮放置台沿第一方向移动的第一加载部件、可联动车轮放置台沿第二方向移动的第二加载部件,以及可联动车轮安装基座和车轮放置台沿第三方向移动的第三加载部件,该测试装置通过车轮放置台将载荷直接传递给车轮,能够更真实地反映车轮和底盘系统在各种工况下的受力情况。
今年以来上汽集团新获得专利授权285个,较去年同期减少了26.74%。结合公司2024年年报财务数据,2024年公司在研发方面投入了176.5亿元,同比减3.9%。

图片来源于网络,如有侵权,请联系删除
通过天眼查大数据分析,上海汽车集团股份有限公司共对外投资了59家企业,参与招投标项目6139次;财产线索方面有商标信息2459条,专利信息8870条,著作权信息611条;此外企业还拥有行政许可541个。

图片来源于网络,如有侵权,请联系删除
数据来源:天眼查APP
以上内容为证券之星据公开信息整理,由AI算法生成(网信算备310104345710301240019号),不构成投资建议。
