证券之星消息,根据天眼查APP数据显示格力电器(000651)新获得一项发明专利授权,专利名为“一种尘污分离装置及吸尘器”,专利申请号为CN202011629553.5,授权日为2025年8月26日。
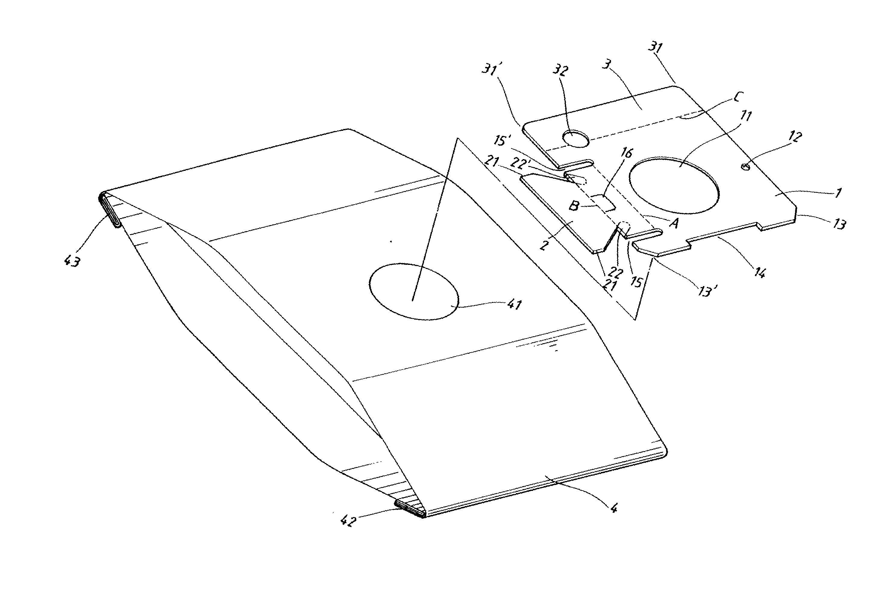
专利摘要:本发明提供一种尘污分离装置及吸尘器,通过控制过滤网的中心朝向所述进气口方向凸出设置,当过滤网发生转动时,携带有尘污的气流在进入到集尘腔内部后,与过滤网之间发生碰撞,由于过滤网的中心发生凸出,因此过滤网的侧面将与尘污的流动方向之间呈钝角设置,当尘污与过滤网的侧面发生碰撞后,过滤网将对尘污施加一定的摩擦力,使得尘污跟随过滤网进行运动,同时尘污会在过滤网的引导下发生变向,在过滤网的转动离心力的作用下,转向集尘腔的侧壁进行运动。由于真空电机自身的功率变小,可以有效地降低真空电机在工作过程中产生的噪音,因此可以提高用户的使用体验。

图片来源于网络,如有侵权,请联系删除
今年以来格力电器新获得专利授权4653个,较去年同期减少了3.46%。结合公司2024年年报财务数据,2024年公司在研发方面投入了69.04亿元,同比增2.1%。

图片来源于网络,如有侵权,请联系删除
通过天眼查大数据分析,珠海格力电器股份有限公司共对外投资了101家企业,参与招投标项目29285次;财产线索方面有商标信息8151条,专利信息116094条,著作权信息297条;此外企业还拥有行政许可842个。
数据来源:天眼查APP
以上内容为证券之星据公开信息整理,由AI算法生成(网信算备310104345710301240019号),不构成投资建议。
