证券之星消息,根据天眼查APP数据显示顶固集创(300749)新获得一项实用新型专利授权,专利名为“一种隐藏铰链结构”,专利申请号为CN202422130996.X,授权日为2025年8月19日。
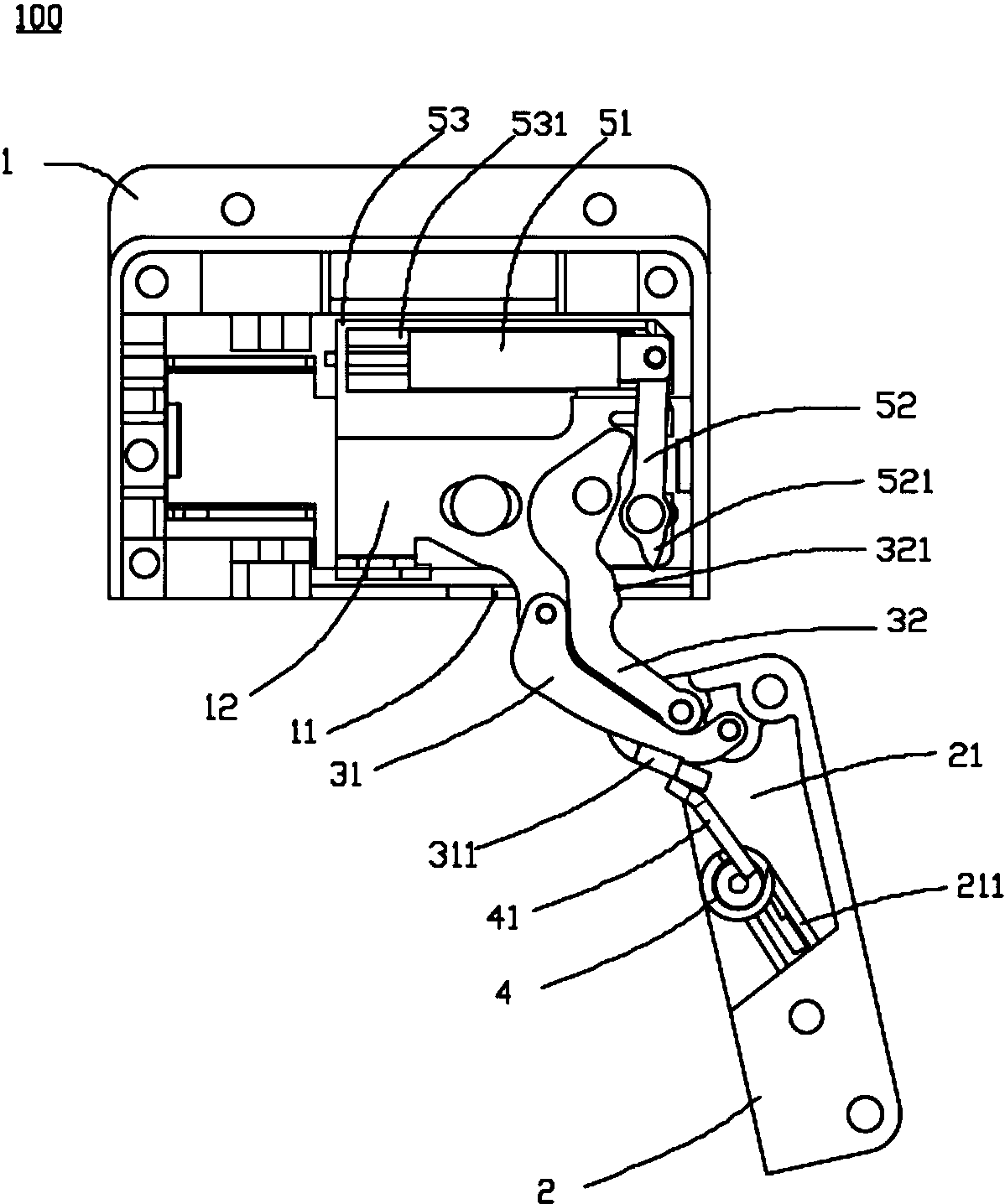
专利摘要:本实用新型公开一种隐藏铰链结构,包括铰杯、铰杯装饰盖以及销轴,所述销轴与所述铰杯连接且与所述铰杯装饰盖转动连接,所述销轴套设有扭簧,所述扭簧用于对所述铰杯装饰盖以及铰杯施加作用力,使所述铰杯保持在所述铰杯装饰盖内,以保持在盖合状态。本实用新型采用扭簧约束铰杯与铰杯装饰盖的相对位置,在没有其它外力作用下,铰杯装饰盖在扭簧的作用下,其盖合在铰杯上,实现对铰杯进行遮挡,避免铰杯外漏而影响美观。本实用新型的铰杯装饰盖无需采用滑动连接结构,独立运行避免产生零部件互相干涉而影响柜门开合的问题。
今年以来顶固集创新获得专利授权53个,较去年同期减少了3.64%。结合公司2024年年报财务数据,2024年公司在研发方面投入了3780.59万元,同比减21.54%。

图片来源于网络,如有侵权,请联系删除
通过天眼查大数据分析,广东顶固集创家居股份有限公司共对外投资了23家企业,参与招投标项目162次;财产线索方面有商标信息632条,专利信息1542条,著作权信息66条;此外企业还拥有行政许可51个。
数据来源:天眼查APP
以上内容为证券之星据公开信息整理,由AI算法生成(网信算备310104345710301240019号),不构成投资建议。
