证券之星消息,根据天眼查APP数据显示海尔智家(600690)新获得一项实用新型专利授权,专利名为“一种前置过滤器”,专利申请号为CN202422246939.8,授权日为2025年8月19日。
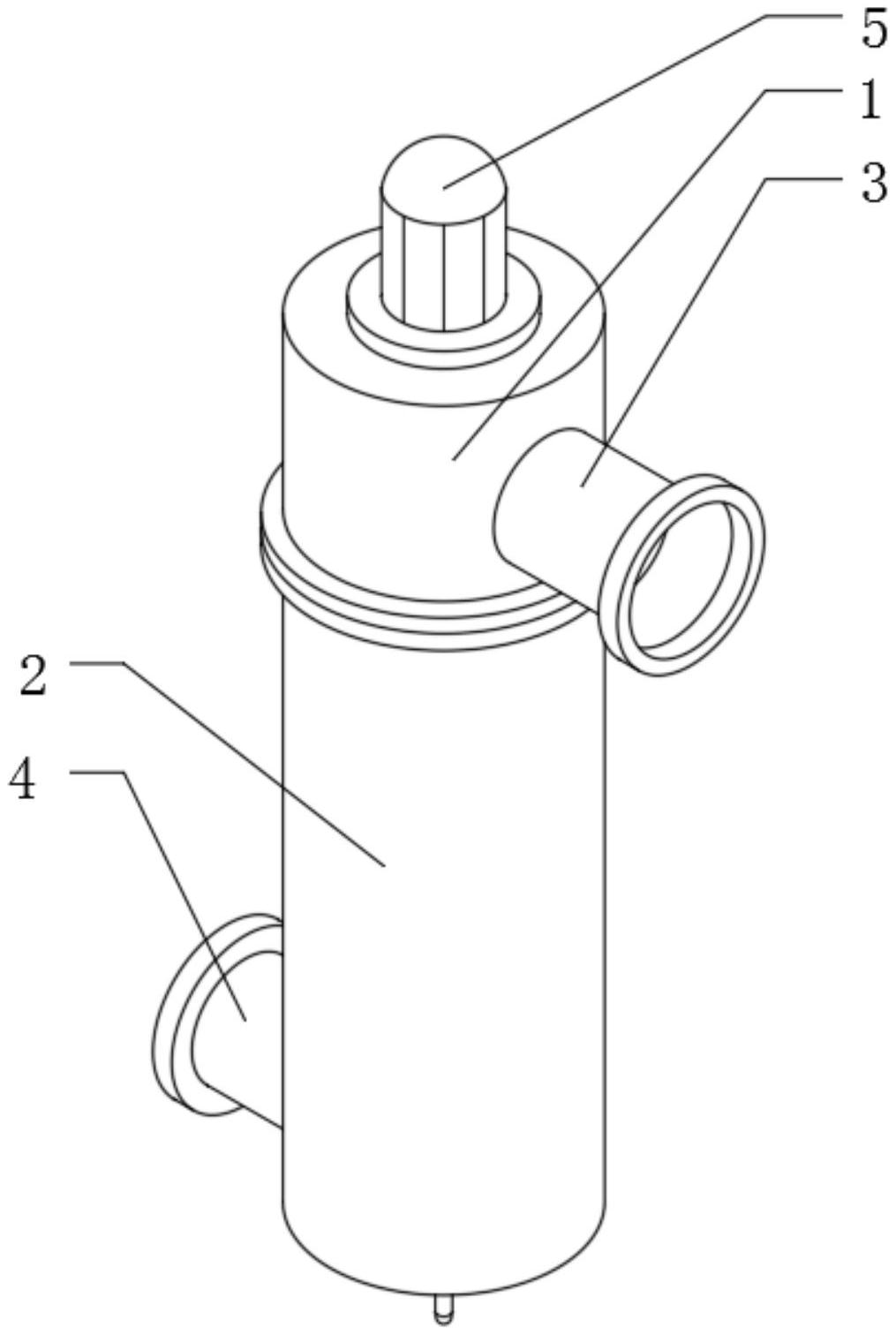
专利摘要:本实用新型属于水处理技术领域,公开了一种前置过滤器,包括滤瓶、过滤组件和刮洗组件,滤瓶上设置有进水口和出水口;过滤组件设置于滤瓶内,过滤组件的出口端与出水口连通,进口端与进水口连通;刮洗组件包括骨架、刮洗件和弹性件,骨架套设于过滤组件外,并与滤瓶和/或过滤组件转动连接,骨架上设置有水驱动结构,水驱动结构能够在水流作用下带动骨架转动,刮洗件设置于骨架上,用于刮洗滤瓶和/或过滤组件,弹性件连接骨架,用于驱动骨架旋转复位。该前置过滤器利用水锤力驱动骨架转动,利用弹性件将水锤力转化为弹性势能,并在水锤力消失后利用弹性势能驱动骨架反向转动,实现正反两个方向的刮洗,清洁效果好,消除水锤效应效果好。
今年以来海尔智家新获得专利授权3553个,较去年同期减少了14.24%。结合公司2024年年报财务数据,2024年公司在研发方面投入了107.4亿元,同比增3.47%。

图片来源于网络,如有侵权,请联系删除
通过天眼查大数据分析,海尔智家股份有限公司共对外投资了58家企业,参与招投标项目1719次;财产线索方面有商标信息357条,专利信息63650条,著作权信息53条;此外企业还拥有行政许可10个。
数据来源:天眼查APP
以上内容为证券之星据公开信息整理,由AI算法生成(网信算备310104345710301240019号),不构成投资建议。
