证券之星消息,根据天眼查APP数据显示欣锐科技(300745)新获得一项发明专利授权,专利名为“OBC和DC/DC集成充电器、控制方法及相关设备”,专利申请号为CN202210109769.1,授权日为2025年8月15日。
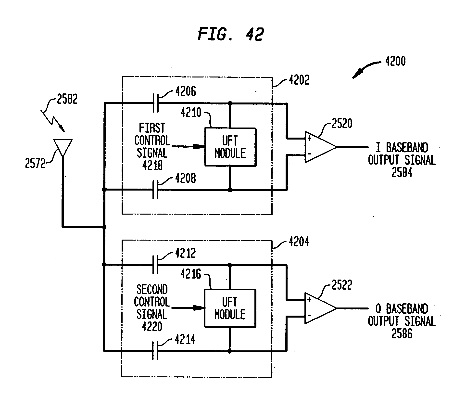
专利摘要:本申请实施例提供了一种OBC和DC/DC集成充电器、控制方法及相关设备,该OBC和DC/DC集成充电器包括OBC、OBC控制器、车载控制器、DC/DC变换器,DC/DC变换器的第一输出端连接车载控制器的输入端,DC/DC变换器的第二输出端连接低压输出端,车载控制器的第一输出端连接OBC控制器的第一输入端,车载控制器的第二输出端与OBC控制器的第二输入端连接,车载控制器的第三输出端与DC/DC变换器的第一输入端连接,OBC控制器的输出端连接OBC的第一输入端。本申请可以DC/DC输出端的用电设备负载突然增大时对其OBC的谐振腔电流进行及时调节,避免OBC输入电流超出充电枪限制,发生过流故障。
今年以来欣锐科技新获得专利授权25个,较去年同期减少了41.86%。结合公司2024年年报财务数据,2024年公司在研发方面投入了1.89亿元,同比增50.97%。

图片来源于网络,如有侵权,请联系删除
通过天眼查大数据分析,深圳欣锐科技股份有限公司共对外投资了11家企业,参与招投标项目10次;财产线索方面有商标信息66条,专利信息849条,著作权信息417条;此外企业还拥有行政许可15个。
数据来源:天眼查APP
以上内容为证券之星据公开信息整理,由AI算法生成(网信算备310104345710301240019号),不构成投资建议。
