证券之星消息,根据天眼查APP数据显示上海电气(601727)新获得一项发明专利授权,专利名为“一种直接以散热器为外壳的新型结构的功率模块及制备方法”,专利申请号为CN202210469082.9,授权日为2025年8月15日。

图片来源于网络,如有侵权,请联系删除
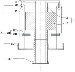
专利摘要:本发明涉及电子技术领域,具体提供一种直接以散热器为外壳的新型结构的功率模块及制备方法,包括:散热器本体,所述散热器本体上开设有凹槽;覆铜陶瓷基板,平铺固定于所述凹槽的底部,所述覆铜陶瓷基板通过导热钎料连接所述散热器,所述覆铜陶瓷基板上设有芯片和信号传输端子;所述凹槽内灌有硅胶形成的硅胶保护层,所述信号传输端子伸出所述硅胶保护层连接外部应用端,所述散热器本体为金属材质的散热器,所述散热器本体上还开设有散热翅片;本发明功率模块与散热器本体之间散热效益高;功率模块失效发生爆炸时可以控制失效物喷射方向,避免损伤整机内其它元器件。
今年以来上海电气新获得专利授权70个,较去年同期增加了11.11%。结合公司2024年年报财务数据,2024年公司在研发方面投入了56.65亿元,同比增5.5%。

图片来源于网络,如有侵权,请联系删除
通过天眼查大数据分析,上海电气集团股份有限公司共对外投资了104家企业,参与招投标项目4483次;财产线索方面有商标信息221条,专利信息1722条,著作权信息145条;此外企业还拥有行政许可125个。
数据来源:天眼查APP
以上内容为证券之星据公开信息整理,由AI算法生成(网信算备310104345710301240019号),不构成投资建议。
