证券之星消息,根据天眼查APP数据显示中国石油(601857)新获得一项发明专利授权,专利名为“一种井下气液分离射流排采工艺管柱及工艺方法”,专利申请号为CN202111512409.8,授权日为2025年8月15日。
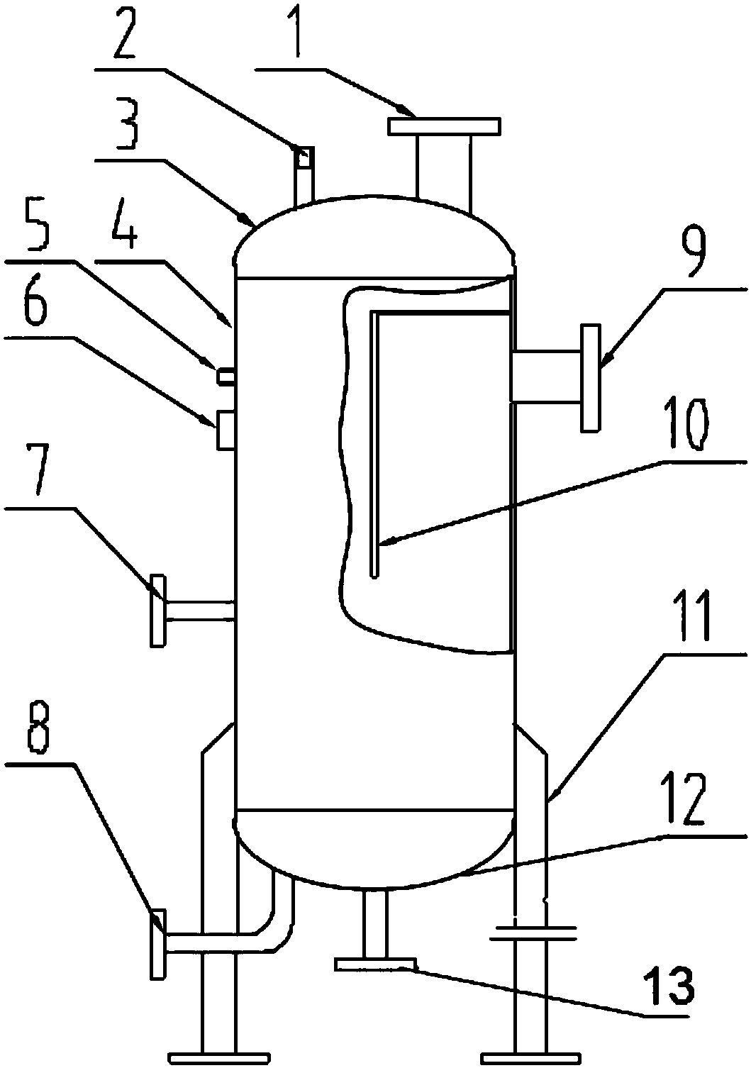
专利摘要:本发明提出一种井下气液分离射流排采工艺管柱及工艺方法,所述工艺管柱包括由从内向外依次套设的小油管、油管、套管,所述油管和套管之间具有环形空间,该环形空间设有封隔器;所述小油管的下端依次连接有射流泵、气液分离器、单流阀。进行射流排采作业时从小油管内注入工作液,工作液通过射流泵在油管内形成负压区,井底气液混合流体通过单流阀进入气液分离器,气液分离器在上部工作液作用下开始工作,其中液体通过气液分流器侧面的排液通道进入油管;气体通过气液分流器底部的排气通道进入油管和套管之间的环形空间,实现气液分离。本发明公开的井下气液分离射流排采工艺可以实现气体、液体的分离和快速排液,提高产水气井射流排采效果。

图片来源于网络,如有侵权,请联系删除
今年以来中国石油新获得专利授权775个,较去年同期减少了48.47%。结合公司2024年年报财务数据,2024年公司在研发方面投入了230.14亿元,同比增4.77%。
通过天眼查大数据分析,中国石油天然气股份有限公司共对外投资了1286家企业,参与招投标项目445次;财产线索方面有商标信息107条,专利信息31660条;此外企业还拥有行政许可168个。

图片来源于网络,如有侵权,请联系删除
数据来源:天眼查APP
以上内容为证券之星据公开信息整理,由AI算法生成(网信算备310104345710301240019号),不构成投资建议。
