证券之星消息,根据天眼查APP数据显示华丰科技(688629)新获得一项发明专利授权,专利名为“一种冷硫化工装”,专利申请号为CN202211720031.5,授权日为2025年8月12日。
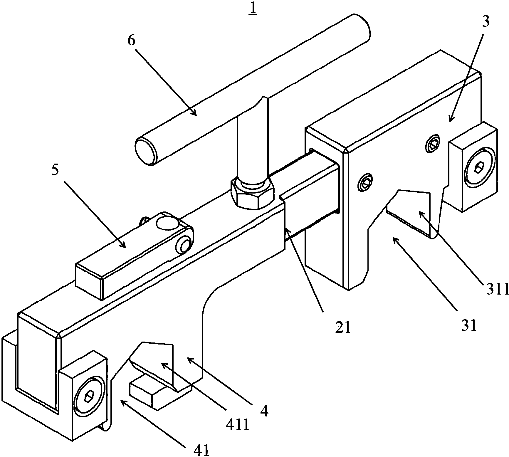
专利摘要:一种冷硫化工装,它包括左模体和右模体;所述左模体的正面上从上至下开设有依次连通的注胶孔、左半模腔和左半定位孔;所述注胶孔的上端贯穿左模体顶部,所述左半定位孔下端贯穿左模体底部;所述右模体的正面上从上至下开设有依次连通的导线定位孔、右半模腔和右半定位孔;所述导线定位孔的上端贯穿左模体顶部,所述右半定位孔下端贯穿右模体底部;所述右模体顶部开设有排气孔,所述排气孔位于导线定位孔的外侧,所述排气孔上端贯穿右模体顶部,排气孔下端与右半模腔的上端连通;当左模体的正面与右左模体的正面接触时,左半模腔和右半模腔拼接成模腔。该冷硫化工装能够减少胶套侧边的毛刺和减少胶套侧边的气泡孔。
今年以来华丰科技新获得专利授权45个,较去年同期增加了66.67%。结合公司2024年年报财务数据,2024年公司在研发方面投入了1.14亿元,同比增20.99%。

图片来源于网络,如有侵权,请联系删除
通过天眼查大数据分析,四川华丰科技股份有限公司共对外投资了10家企业,参与招投标项目552次;财产线索方面有商标信息24条,专利信息800条,著作权信息3条;此外企业还拥有行政许可16个。
数据来源:天眼查APP
以上内容为证券之星据公开信息整理,由AI算法生成(网信算备310104345710301240019号),不构成投资建议。
