证券之星消息,根据天眼查APP数据显示格力电器(000651)新获得一项发明专利授权,专利名为“一种声波配网加密方法、系统以及计算机可读存储介质”,专利申请号为CN202211258418.3,授权日为2025年8月12日。

图片来源于网络,如有侵权,请联系删除
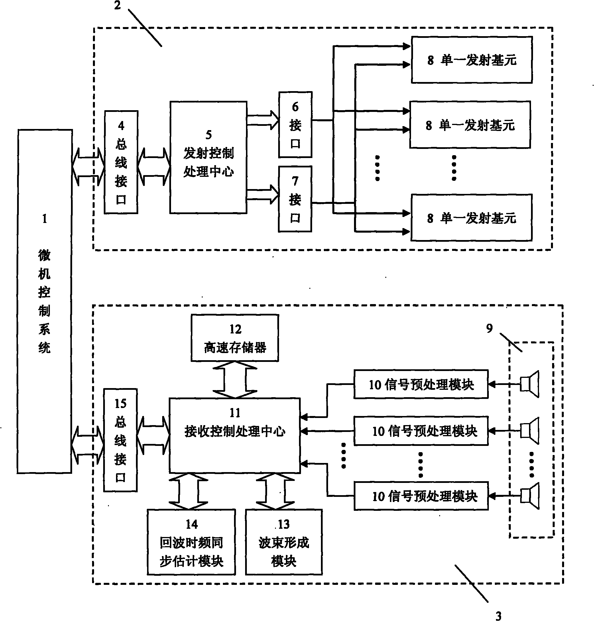
专利摘要:本申请涉及一种声波配网加密方法、系统及计算机可读存储介质,方法包括:确定混沌信号;根据所述混沌信号生成加密信号,基于所述加密信号将声波信号转换为加密声波信号;根据所述混沌信号生成同步信号,将所述同步信号和所述加密声波信号发送给接收端,所述同步信号和所述加密信号为同一时间生成的信号,且所述同步信号用于所述接收端确定所述加密信号,以对所述加密声波信号解密得到所述声波信号,发送端通过混沌信号确定加密信号,并通过加密信号对声波信号进行加密传输,实现了对声波信号的加密传输,使得声波信号不易被破解,保证了数据安全,从而保护了用户隐私,避免了声波配网以明文方式传输,导致隐私泄露的问题。
今年以来格力电器新获得专利授权4346个,较去年同期减少了2.4%。结合公司2024年年报财务数据,2024年公司在研发方面投入了69.04亿元,同比增2.1%。
通过天眼查大数据分析,珠海格力电器股份有限公司共对外投资了101家企业,参与招投标项目28652次;财产线索方面有商标信息8150条,专利信息115847条,著作权信息297条;此外企业还拥有行政许可830个。

图片来源于网络,如有侵权,请联系删除
数据来源:天眼查APP
以上内容为证券之星据公开信息整理,由AI算法生成(网信算备310104345710301240019号),不构成投资建议。
