证券之星消息,根据天眼查APP数据显示杭齿前进(601177)新获得一项发明专利授权,专利名为“一种模块集成式的船用轻型齿轮箱”,专利申请号为CN202311052697.2,授权日为2025年8月8日。

图片来源于网络,如有侵权,请联系删除
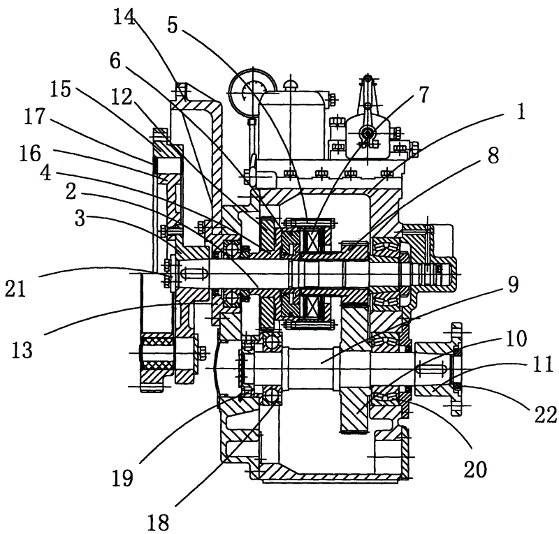
专利摘要:本发明涉及一种模块集成式的船用轻型齿轮箱,包括输入齿轮轴部件、传动齿轮轴部件、输出齿轮轴部件和箱体部件,输入齿轮轴部件包括输入法兰和输入轴,输入法兰内孔与输入轴通过轴向微滑移的花键连接传动,传动齿轮轴部件包括一传动轴、以及依次套设在传动轴上的传动齿轮A、离合器组件A、主齿轮组件、滑动轴套A;离合器组件A包括离合器外壳、摩擦片座、活塞、弹簧、内摩擦片和外摩擦片,离合器外壳集成在传动齿轮A上,离合器外壳的圆周壁上布置有长条形的通孔,摩擦片座集成在主齿轮组件上,内摩擦片和外摩擦片交替设置;弹簧设置于活塞与摩擦片座之间,活塞推动内摩擦片和外摩擦片密接压紧。本发明减小了产品体积,保证了离合器泄油的舒畅,提高了产品的可靠性。
今年以来杭齿前进新获得专利授权37个,较去年同期增加了12.12%。结合公司2024年年报财务数据,2024年公司在研发方面投入了1.22亿元,同比减0.5%。
通过天眼查大数据分析,杭州前进齿轮箱集团股份有限公司共对外投资了20家企业,参与招投标项目150次;财产线索方面有商标信息44条,专利信息787条,著作权信息14条;此外企业还拥有行政许可88个。

图片来源于网络,如有侵权,请联系删除
数据来源:天眼查APP
以上内容为证券之星据公开信息整理,由AI算法生成(网信算备310104345710301240019号),不构成投资建议。
