证券之星消息,根据天眼查APP数据显示软控股份(002073)新获得一项发明专利授权,专利名为“帘布接头装置”,专利申请号为CN202011638271.1,授权日为2025年8月8日。
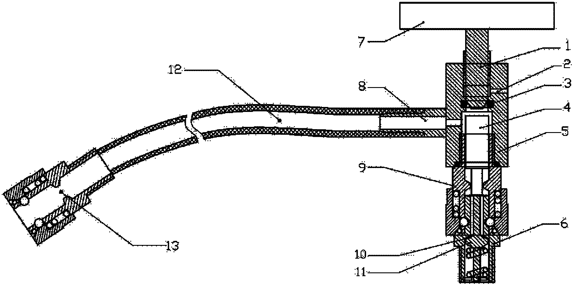
专利摘要:本发明提供了一种帘布接头装置,用于连接第一帘布和第二帘布,帘布接头装置包括:传动架;第一传送机构,第一传送机构设置在传动架上,第一帘布设置在第一传送机构上;第二传送机构,第二传送机构设置在传动架上,以带动第二帘布朝向第一帘布移动并使第二帘布上的至少部分与第一帘布重叠;压接组件,压接组件相对传动架可移动地设置,以将第一帘布和第二帘布重叠的部分压紧,使第一帘布和第二帘布连接。本发明的帘布接头装置解决了现有技术中的小角度帘布不方便拼接的问题。
今年以来软控股份新获得专利授权76个,较去年同期增加了22.58%。结合公司2024年年报财务数据,2024年公司在研发方面投入了4.06亿元,同比增13.36%。

图片来源于网络,如有侵权,请联系删除
通过天眼查大数据分析,软控股份有限公司共对外投资了27家企业,参与招投标项目26次;财产线索方面有商标信息99条,专利信息1602条,著作权信息169条;此外企业还拥有行政许可17个。
数据来源:天眼查APP
以上内容为证券之星据公开信息整理,由AI算法生成(网信算备310104345710301240019号),不构成投资建议。
