证券之星消息,根据天眼查APP数据显示贵绳股份(600992)新获得一项实用新型专利授权,专利名为“一种吊索锚具装配装置”,专利申请号为CN202421925289.3,授权日为2025年8月8日。
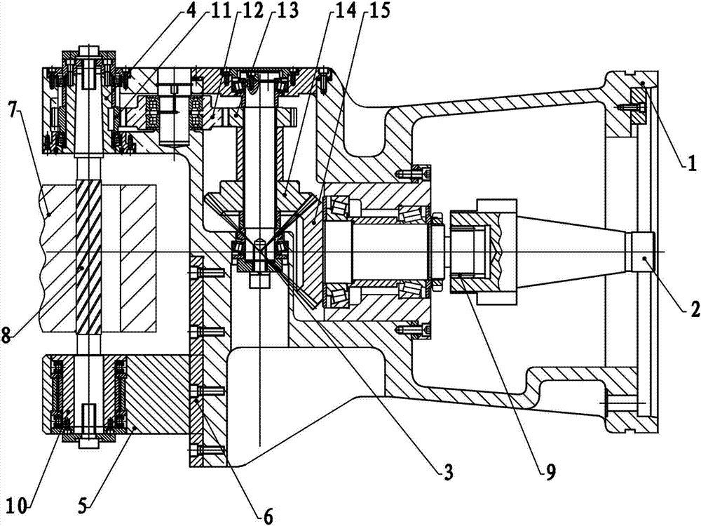
专利摘要:一种吊索锚具装配装置,本装置包括:吊环,吊耳,吊具组,基础盘,防旋转定位板,关节轴承,防旋转定位轴,轴承座,把手,锚具销孔定位轴,滑轨,锚具销孔定位板,限位轮,承重轮,限位轮承重轮用轴,限位轮承重轮用轴承,限位滚针压板,限位滚针;通过旋转把手使锚具的周向转动,从而实现锚具与锚杯的螺纹旋合,操作方便简单。本实用新型的技术方案有效的解决了吊索装配过程中保证螺纹旋合质量正常,以及吊索装配过程中保证锚具表面涂装完好性等技术问题。
今年以来贵绳股份新获得专利授权4个,较去年同期增加了33.33%。结合公司2024年年报财务数据,2024年公司在研发方面投入了4099.19万元,同比减4.78%。

图片来源于网络,如有侵权,请联系删除
通过天眼查大数据分析,贵州钢绳股份有限公司共对外投资了1家企业,参与招投标项目2641次;财产线索方面有商标信息1条,专利信息516条;此外企业还拥有行政许可33个。
数据来源:天眼查APP
以上内容为证券之星据公开信息整理,由AI算法生成(网信算备310104345710301240019号),不构成投资建议。
