证券之星消息,根据天眼查APP数据显示光峰科技(688007)新获得一项实用新型专利授权,专利名为“用于镜片切换的控制装置及投影系统”,专利申请号为CN202422461044.6,授权日为2025年8月8日。
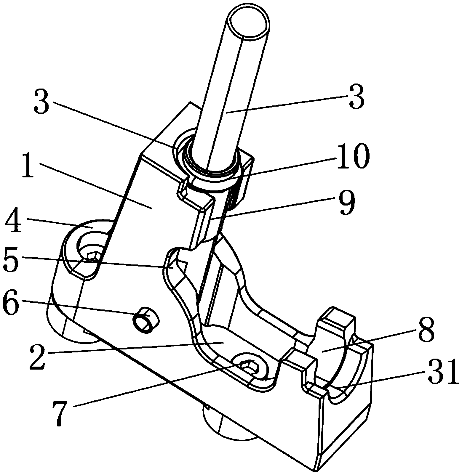
专利摘要:本申请公开了一种用于镜片切换的控制装置及投影系统,涉及投影技术领域。该用于镜片切换的控制装置包括:运动组件,运动组件至少包括运动平台,运动平台用于放置多个镜片模组;驱动模块,与运动组件电连接;多个位置指示模块,每个位置指示模块包括检测单元与位置指示单元,位置指示单元与检测单元电连接;主控模块,分别与驱动模块和位置指示模块电连接,用于在接收到目标投影模式指令后,根据目标位置指示信号持续向驱动模块输出目标驱动信号,以驱动运动平台运动,直至目标镜片模组移动至光源输出的光束所在的光路上。如此,无需多套光源,仅需一套光源即可实现多种投影模式,有效地解决了投影系统的成本过高的问题。
今年以来光峰科技新获得专利授权114个,较去年同期增加了40.74%。结合公司2024年年报财务数据,2024年公司在研发方面投入了2.48亿元,同比减11.82%。

图片来源于网络,如有侵权,请联系删除
通过天眼查大数据分析,深圳光峰科技股份有限公司共对外投资了23家企业,参与招投标项目437次;财产线索方面有商标信息583条,专利信息2290条,著作权信息67条;此外企业还拥有行政许可70个。
数据来源:天眼查APP

图片来源于网络,如有侵权,请联系删除
以上内容为证券之星据公开信息整理,由AI算法生成(网信算备310104345710301240019号),不构成投资建议。
