证券之星消息,根据天眼查APP数据显示中航光电(002179)新获得一项发明专利授权,专利名为“一种推拉锁紧式防尘盖”,专利申请号为CN202210719010.5,授权日为2025年8月5日。

图片来源于网络,如有侵权,请联系删除
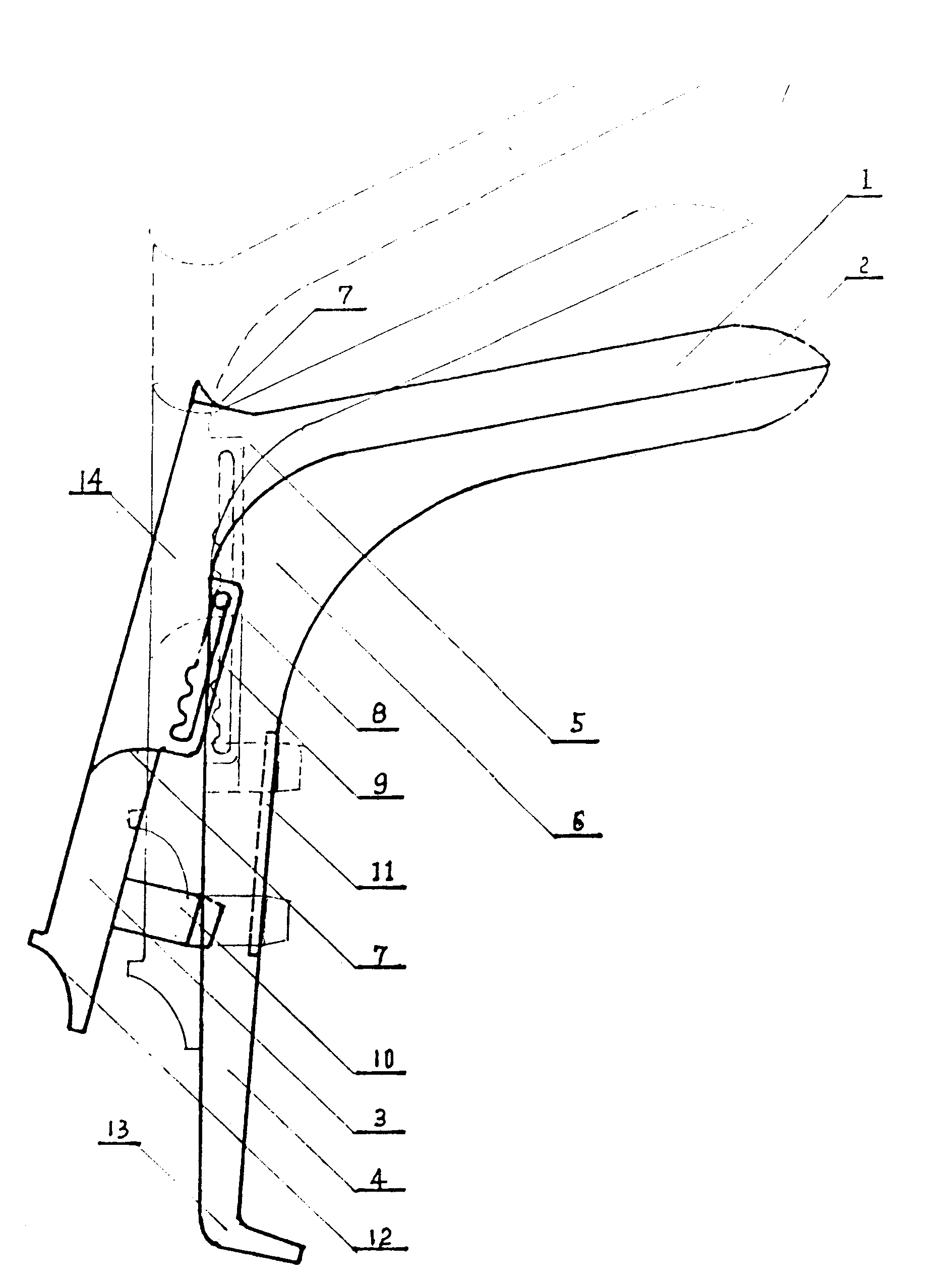
专利摘要:本发明涉及一种推拉锁紧式防尘盖,包括连接螺帽和装配在连接螺帽中的内壳体;连接螺帽内壁设置有挡台结构,内壳体外圆周设置有轴向止挡台,轴向止挡台上设置有与挡台结构配合的间隙;内壳体一端连接有端盖,弹簧安装在轴向止挡台和端盖之间;装配时,内壳体插合端插入连接螺帽尾端,挡台结构穿过对应间隙后,连接螺帽相对内壳体旋转并挤压弹簧,挡台结构在弹簧力作用下与轴向止挡台抵接,实现内壳体与连接螺帽之间的装配。本发明通过结构设计使内壳体与连接螺帽可以灵活装配和解体,与连接器采用推拉形式装配和解锁,结构简单,避免了螺纹连接拆装不方便,加工效率低的缺陷,同时具有可靠性高,结构设置多样,适用范围广的优点。

图片来源于网络,如有侵权,请联系删除
今年以来中航光电新获得专利授权172个,较去年同期减少了6.52%。结合公司2024年年报财务数据,2024年公司在研发方面投入了22.52亿元,同比增2.48%。
通过天眼查大数据分析,中航光电科技股份有限公司共对外投资了13家企业,参与招投标项目6107次;财产线索方面有商标信息53条,专利信息4715条,著作权信息25条;此外企业还拥有行政许可498个。
数据来源:天眼查APP
以上内容为证券之星据公开信息整理,由AI算法生成(网信算备310104345710301240019号),不构成投资建议。
