证券之星消息,根据天眼查APP数据显示捷邦科技(301326)新获得一项实用新型专利授权,专利名为“一种柔性卷料定长步进传输装置”,专利申请号为CN202422584223.9,授权日为2025年8月5日。

图片来源于网络,如有侵权,请联系删除
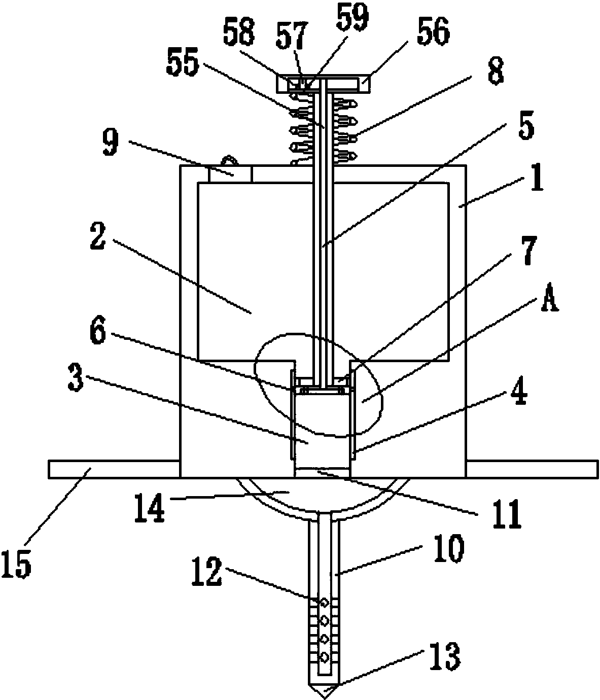
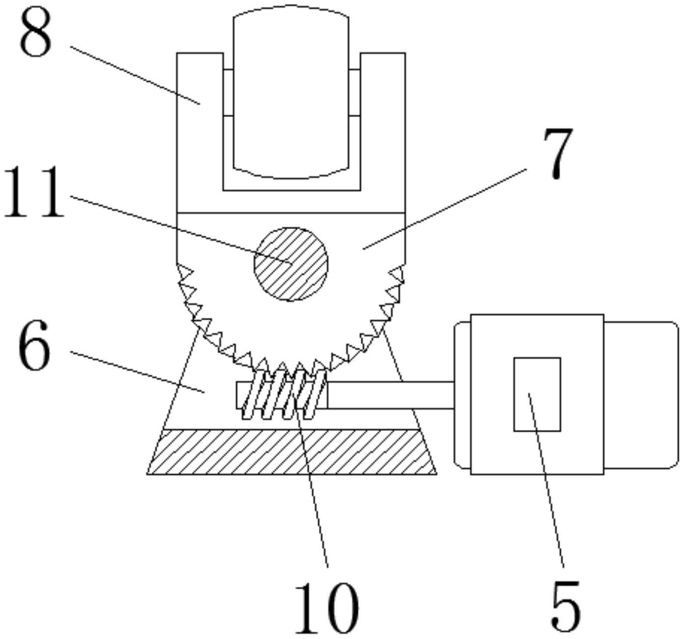
专利摘要:本实用新型涉及一种柔性卷料定长步进传输装置,依次包括放料机构、料带载台、定长牵引机构,定长牵引机构包括伺服电机、由伺服电机带动的主动辊、与主动辊平行设置并抵触的压料带从动辊;所述料带载台的前后两端分别安装有一组可调节的压料带弹片,压料带弹片可与料带载台抵触而对料带产生一定压力,使料带在料带载台上呈平置状态;所述定长牵引机构设置在料带运行方向的下方,且在定长牵引机构的上方还设有剥刀机构,定长牵引机构的后方还设有废料带收卷机构。本实用新型柔性卷料定长步进传输装置可以实现通过牵引废料带的方式同步牵引主料带,并且不会因为所牵引的料带厚度变化等因素而影响步进距离的准确性。
今年以来捷邦科技新获得专利授权15个,较去年同期减少了25%。结合公司2024年年报财务数据,2024年公司在研发方面投入了5794.32万元,同比增4.51%。
通过天眼查大数据分析,捷邦精密科技股份有限公司共对外投资了11家企业,参与招投标项目4次;财产线索方面有商标信息14条,专利信息223条;此外企业还拥有行政许可15个。

图片来源于网络,如有侵权,请联系删除
数据来源:天眼查APP
以上内容为证券之星据公开信息整理,由AI算法生成(网信算备310104345710301240019号),不构成投资建议。
