证券之星消息,根据天眼查APP数据显示晶合集成(688249)新获得一项发明专利授权,专利名为“一种半导体结构的制备方法”,专利申请号为CN202510560282.9,授权日为2025年8月1日。

图片来源于网络,如有侵权,请联系删除
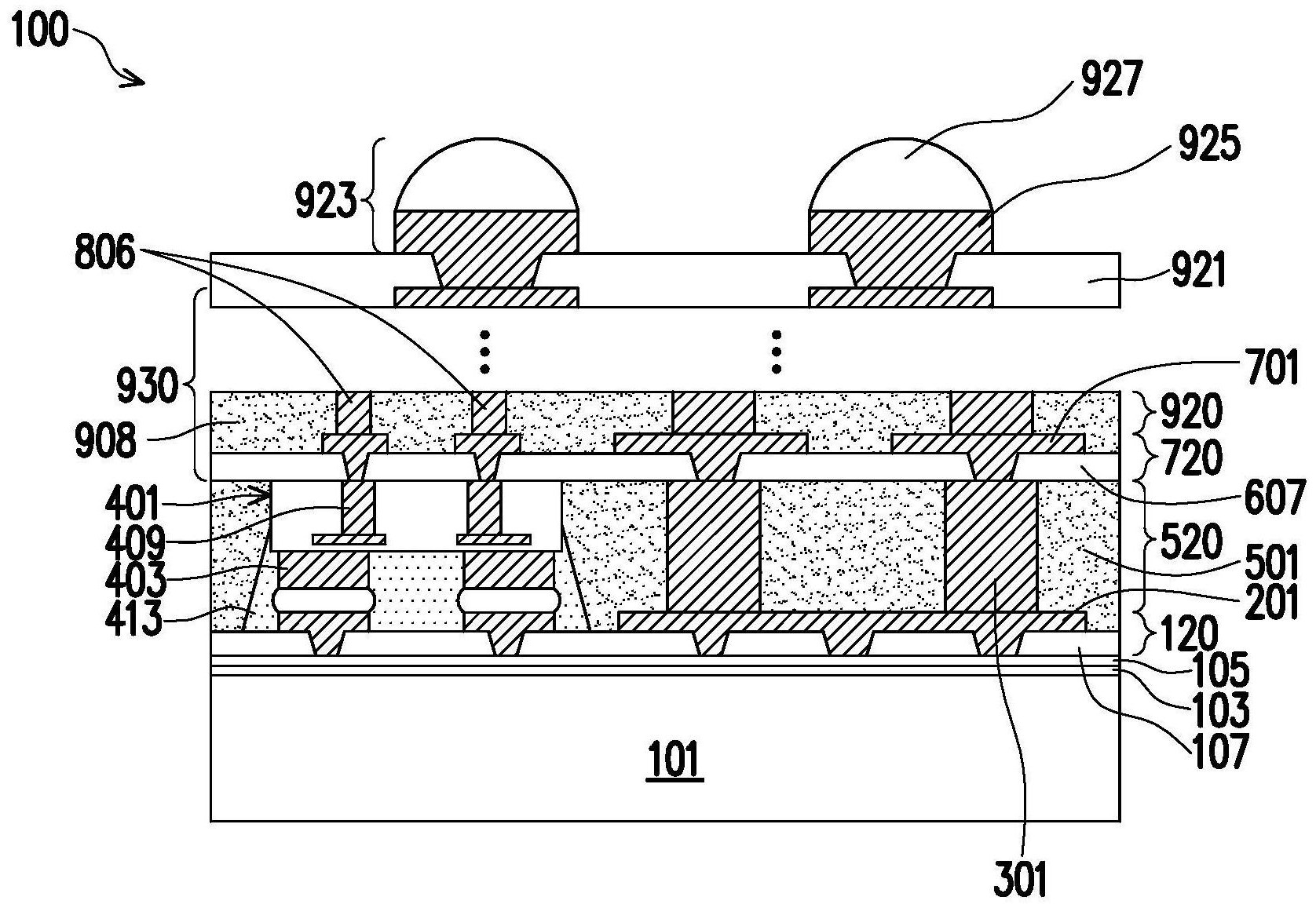
专利摘要:本发明提供了一种半导体结构的制备方法,应用于半导体技术领域。本发明包括提供包括PMOS区和NMOS区的基底,形成凹槽位于PMOS区中栅极结构两侧的基底内,形成应力隔离层填满凹槽,形成张应力记忆层覆盖NMOS区的硬掩膜层和PMOS区的应力隔离层,对张应力记忆层进行退火处理;本发明通过将张应力记忆层和PMOS晶体管的源漏区相应凹槽的制备工艺顺序进行调整的方式,实现利用应力隔离层具有可阻断张应力记忆层的应力传递的作用,避免张应力记忆层在退火过程中对PMOS晶体管的影响,即保证了PMOS晶体管的器件性能,并同时提高了NMOS晶体管的电子迁移率,进而实现了简化CMOS器件的制程工序和降低制造成本(例如省去了移除PMOS区处的张应力记忆层的光罩)的目的。
今年以来晶合集成新获得专利授权229个,较去年同期增加了18.04%。结合公司2024年年报财务数据,2024年公司在研发方面投入了12.84亿元,同比增21.41%。
通过天眼查大数据分析,合肥晶合集成电路股份有限公司共对外投资了9家企业,参与招投标项目629次;财产线索方面有商标信息52条,专利信息1208条,著作权信息7条;此外企业还拥有行政许可21个。

图片来源于网络,如有侵权,请联系删除
数据来源:天眼查APP
以上内容为证券之星据公开信息整理,由AI算法生成(网信算备310104345710301240019号),不构成投资建议。
