证券之星消息,根据天眼查APP数据显示光峰科技(688007)新获得一项发明专利授权,专利名为“一种电源及光源系统”,专利申请号为CN202010529214.3,授权日为2025年8月1日。

图片来源于网络,如有侵权,请联系删除
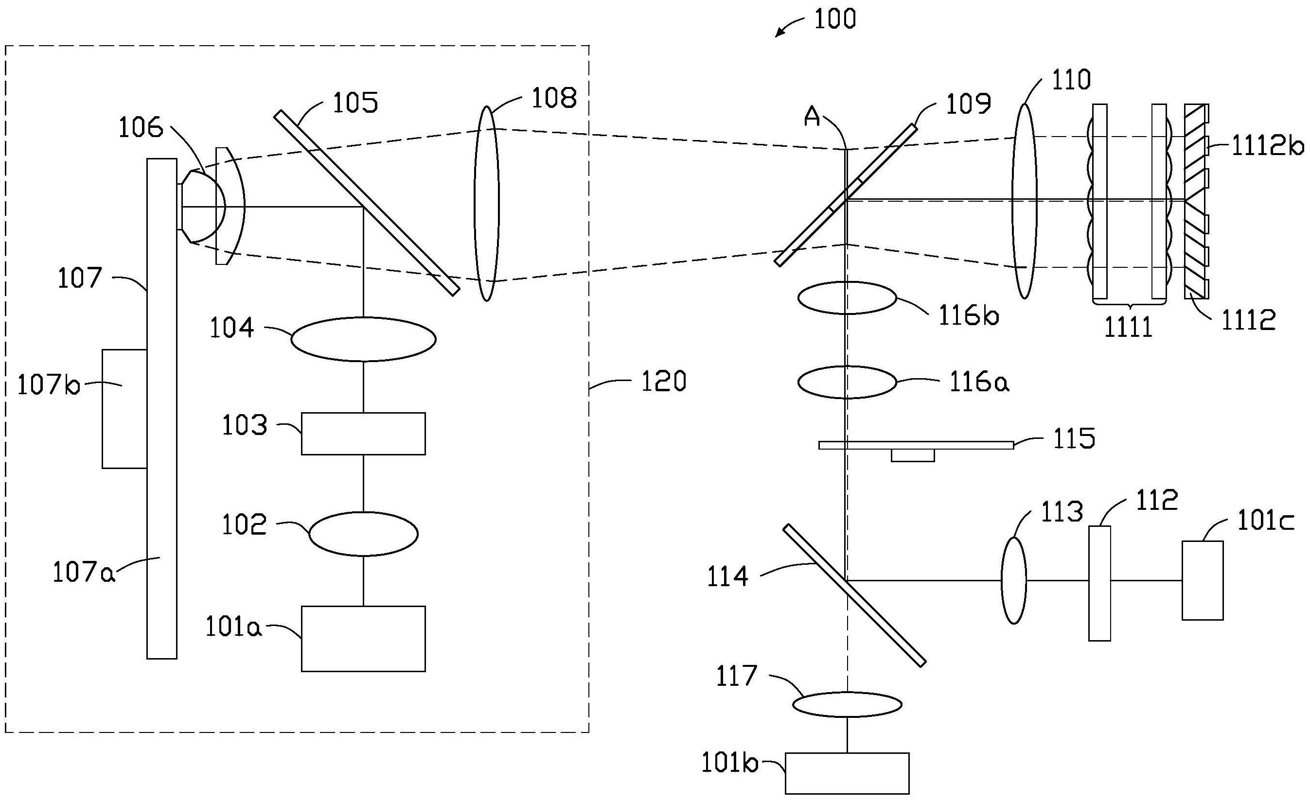
专利摘要:本申请公开了一种电源及光源系统,该电源包括控制电路与至少一个恒流电路,控制电路用于接收电流指令,并根据电流指令产生控制信号;恒流电路与控制电路连接,包括互相连接的直流转换电路与放大电路,直流转换电路用于接收供电信号与控制信号,并根据控制信号将供电信号变换成恒定的电流信号;放大电路用于将供电信号转换成电压反馈信号,并将电压反馈信号输入至控制电路;控制电路还用于在接收到电压反馈信号后,对直流转换电路进行控制,以动态调整直流转换电路输出的电流信号的大小;其中,电流指令中的电流值与直流转换电路输出的恒定的电流信号的电流值相同。通过上述方式,本申请能够动态调整输出电流,简化控制线路。

图片来源于网络,如有侵权,请联系删除
今年以来光峰科技新获得专利授权108个,较去年同期增加了36.71%。结合公司2024年年报财务数据,2024年公司在研发方面投入了2.48亿元,同比减11.82%。
通过天眼查大数据分析,深圳光峰科技股份有限公司共对外投资了23家企业,参与招投标项目426次;财产线索方面有商标信息583条,专利信息2280条,著作权信息67条;此外企业还拥有行政许可70个。
数据来源:天眼查APP
以上内容为证券之星据公开信息整理,由AI算法生成(网信算备310104345710301240019号),不构成投资建议。
