证券之星消息,根据天眼查APP数据显示福田汽车(600166)新获得一项发明专利授权,专利名为“用于车辆的板簧限位装置及车辆”,专利申请号为CN202111144029.3,授权日为2025年7月25日。
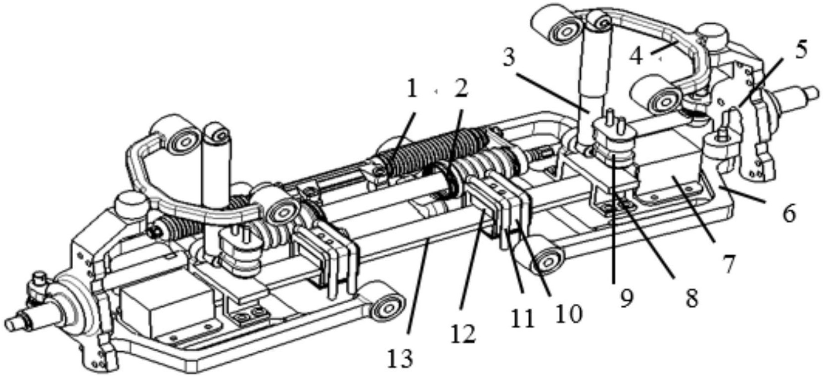
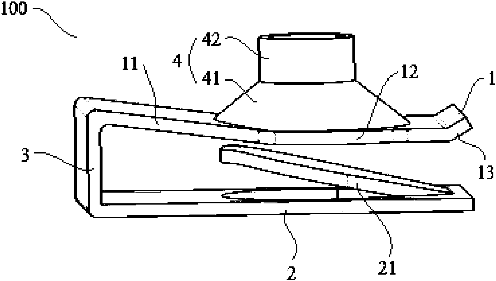
专利摘要:本发明公开了一种用于车辆的板簧限位装置及车辆,所述板簧限位装置包括:第一固定部,所述第一固定部支撑于所述车辆的板簧上;第二固定部,所述第二固定部支撑于所述车辆的车身上;连接部,所述连接部的第一端与所述第一固定部连接,所述连接部的第二端与第二固定部连接,所述连接部支撑于所述第一固定部与所述第二固定部之间以限制所述板簧形变;其中所述连接部的长度可调和/或所述第一固定部与第二固定部中的至少一个与所述连接部之间的连接角度可调。根据本发明的用于车辆的板簧限位装置,该板簧限位装置便于安装和拆卸,简化了故障排查过程,降低了工作人员的工作量以及工作时间,提高了故障排查的效率。
今年以来福田汽车新获得专利授权123个,较去年同期增加了26.8%。结合公司2024年年报财务数据,2024年公司在研发方面投入了19亿元,同比减8.68%。

图片来源于网络,如有侵权,请联系删除
通过天眼查大数据分析,北汽福田汽车股份有限公司共对外投资了65家企业,参与招投标项目17565次;财产线索方面有商标信息2394条,专利信息9370条,著作权信息224条;此外企业还拥有行政许可3193个。
数据来源:天眼查APP
以上内容为证券之星据公开信息整理,由AI算法生成(网信算备310104345710301240019号),不构成投资建议。

图片来源于网络,如有侵权,请联系删除
