证券之星消息,根据天眼查APP数据显示亚威股份(002559)新获得一项实用新型专利授权,专利名为“一种经济型可调区域金属板料堆垛装置”,专利申请号为CN202422387196.6,授权日为2025年7月25日。

图片来源于网络,如有侵权,请联系删除
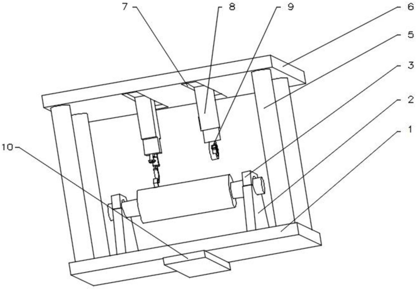
专利摘要:本实用新型公开了一种经济型可调区域金属板料堆垛装置,包括堆料木托盘,所述堆料木托盘的底部两侧均安装有可调高度行走轨道,且可调高度行走轨道的内侧设置有行走电机,同时堆料木托盘的表面覆盖有板料堆,并且堆料木托盘的左端上侧安装有可移动永磁吸盘,可移动永磁吸盘的上侧设置有板料短边可调节位置挡边。该经济型可调区域金属板料堆垛装置,工件堆垛至一定高度后,超高检测传感器被触发,通知用户取走板料堆,更换托盘;堆垛装置开出下料位置,开出一个身位后,方便人工取走板料堆;本装置适用于加工工件比较单一、有一定批量、对智能加工要求不太高的工况,可进行自动化生产,降低人工工作量,降低中小企业成本的压力。
今年以来亚威股份新获得专利授权18个,较去年同期减少了5.26%。结合公司2024年年报财务数据,2024年公司在研发方面投入了1.5亿元,同比增23.88%。
通过天眼查大数据分析,江苏亚威机床股份有限公司共对外投资了18家企业,参与招投标项目267次;财产线索方面有商标信息66条,专利信息649条,著作权信息97条;此外企业还拥有行政许可41个。

图片来源于网络,如有侵权,请联系删除
数据来源:天眼查APP
以上内容为证券之星据公开信息整理,由AI算法生成(网信算备310104345710301240019号),不构成投资建议。
