证券之星消息,根据天眼查APP数据显示五洋自控(300420)新获得一项实用新型专利授权,专利名为“一种新型升降机及传动装置”,专利申请号为CN202422462370.9,授权日为2025年7月25日。

图片来源于网络,如有侵权,请联系删除
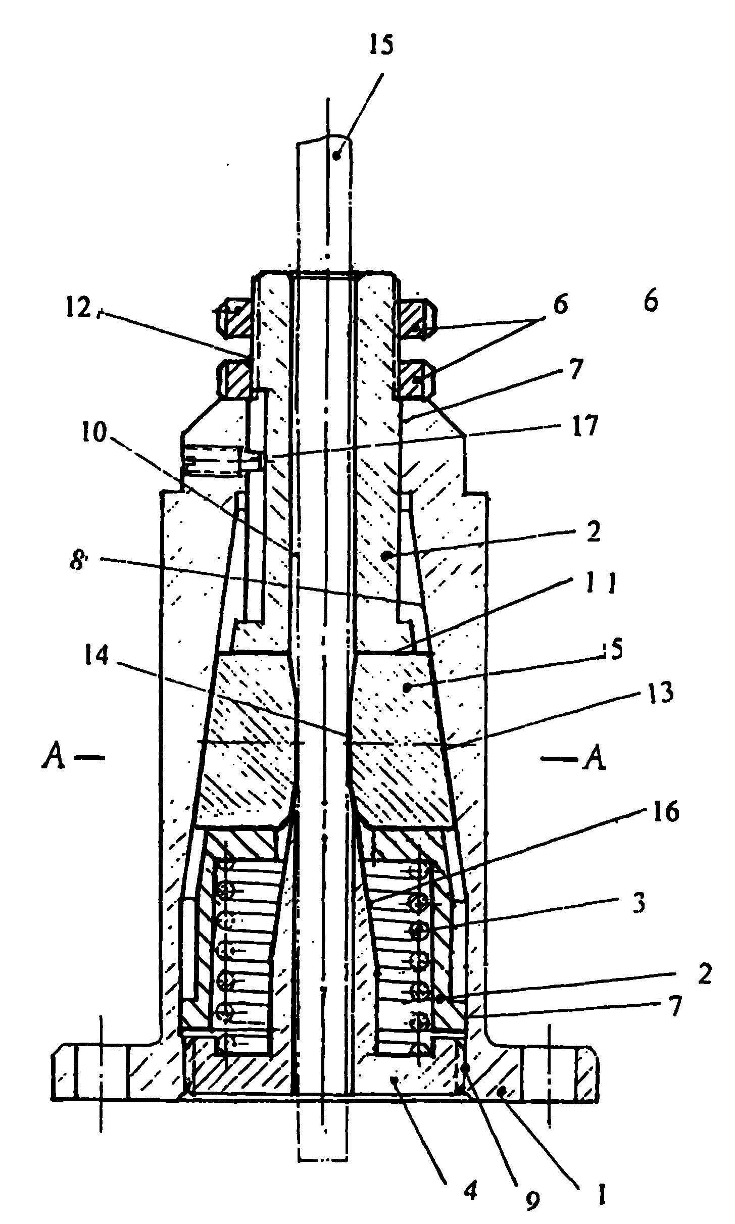
专利摘要:本实用新型提出一种新型升降机,涉及立体停车技术领域,包括建筑主体,所述建筑主体的顶部安装有主动轮组件,所述主动轮组件的外部设有钢丝绳,所述钢丝绳的外部传动连接有中间换向轮组件,所述钢丝绳的一端安装有配重件,所述钢丝绳的另一端安装有滑轮组件,所述建筑主体的内部安装有升降机导轨和配重导轨,所述滑轮组件安装在升降机主体的侧面。本实用新型提出的一种新型升降机及传动装置,通过滑轮组件的使用,有效地减小了钢丝绳的规格及主从动轮的尺寸,主要的升降机导轨和配重导轨安装在建筑结构上,不用单独设计升降机钢构,尺寸更紧凑,结构更简单,便于后期保养和维护。

图片来源于网络,如有侵权,请联系删除
今年以来五洋自控新获得专利授权10个,较去年同期减少了23.08%。结合公司2024年年报财务数据,2024年公司在研发方面投入了6885.95万元,同比减23.64%。
通过天眼查大数据分析,江苏五洋自控技术股份有限公司共对外投资了21家企业,参与招投标项目576次;财产线索方面有商标信息30条,专利信息478条,著作权信息18条;此外企业还拥有行政许可6个。
数据来源:天眼查APP
以上内容为证券之星据公开信息整理,由AI算法生成(网信算备310104345710301240019号),不构成投资建议。
