证券之星消息,根据天眼查APP数据显示建霖家居(603408)新获得一项发明专利授权,专利名为“一种龙头”,专利申请号为CN201810689814.9,授权日为2025年7月22日。

图片来源于网络,如有侵权,请联系删除
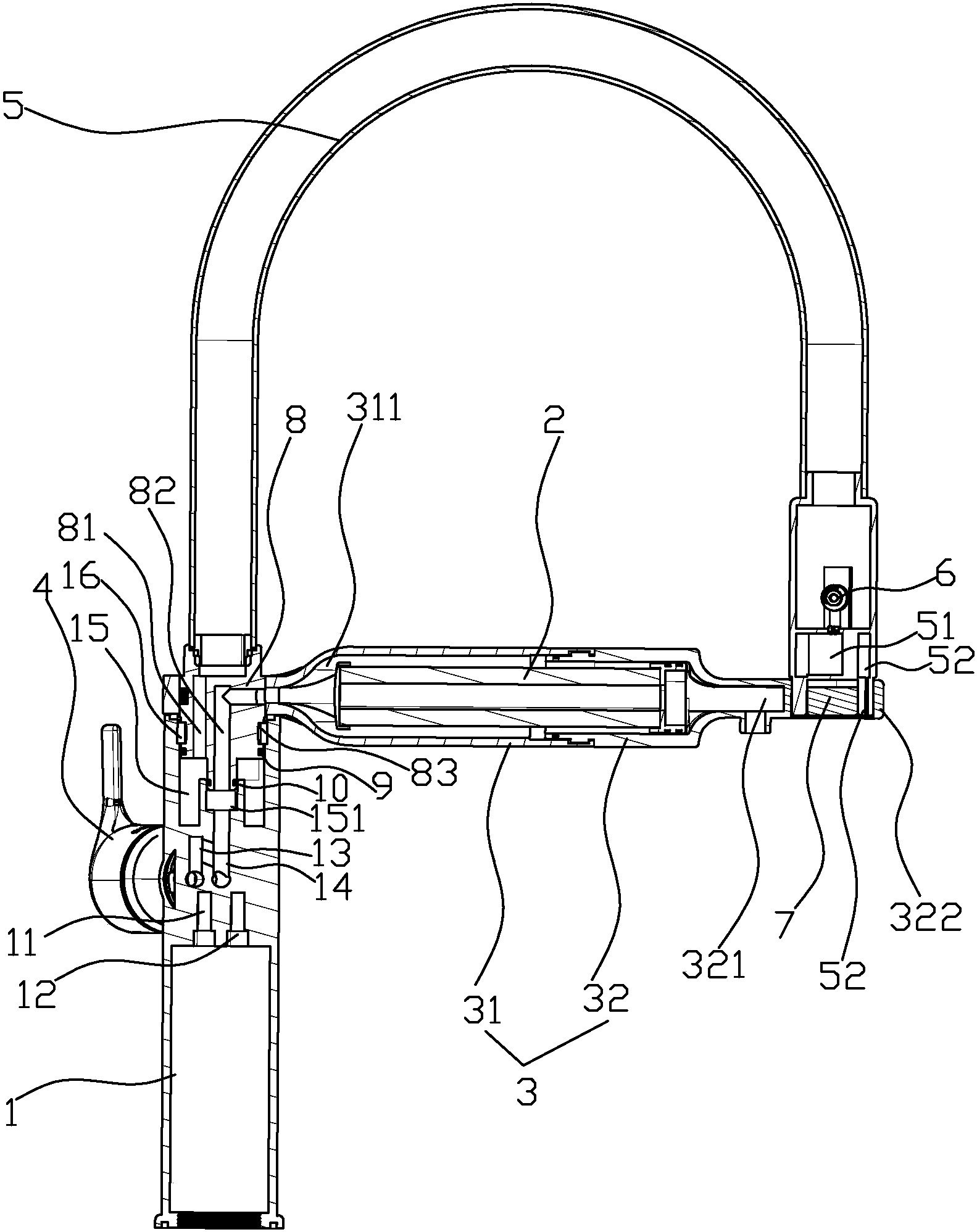
专利摘要:本发明公开了一种龙头,包括固定座,所述固定座上与龙头本体一端相铰接,所述龙头本体的另一端设置有第一出水嘴和第二出水嘴,所述龙头本体内设置有第一过水道和第二过水道,所述第一过水道与第一出水嘴相联接,所述第二过水道与第二出水嘴相联接,所述龙头本体相对固定座转动以实现切换第一出水嘴和第二出水嘴的出水,该龙头可自由改变出水高度及具有可收纳的功能。
今年以来建霖家居新获得专利授权94个,较去年同期增加了51.61%。结合公司2024年年报财务数据,2024年公司在研发方面投入了2.63亿元,同比增10.29%。
通过天眼查大数据分析,厦门建霖健康家居股份有限公司共对外投资了8家企业,参与招投标项目63次;财产线索方面有商标信息387条,专利信息2824条;此外企业还拥有行政许可74个。
数据来源:天眼查APP
以上内容为证券之星据公开信息整理,由AI算法生成(网信算备310104345710301240019号),不构成投资建议。
