证券之星消息,根据天眼查APP数据显示格力电器(000651)新获得一项发明专利授权,专利名为“定子组件、电机、空调器”,专利申请号为CN202110774473.7,授权日为2025年7月18日。
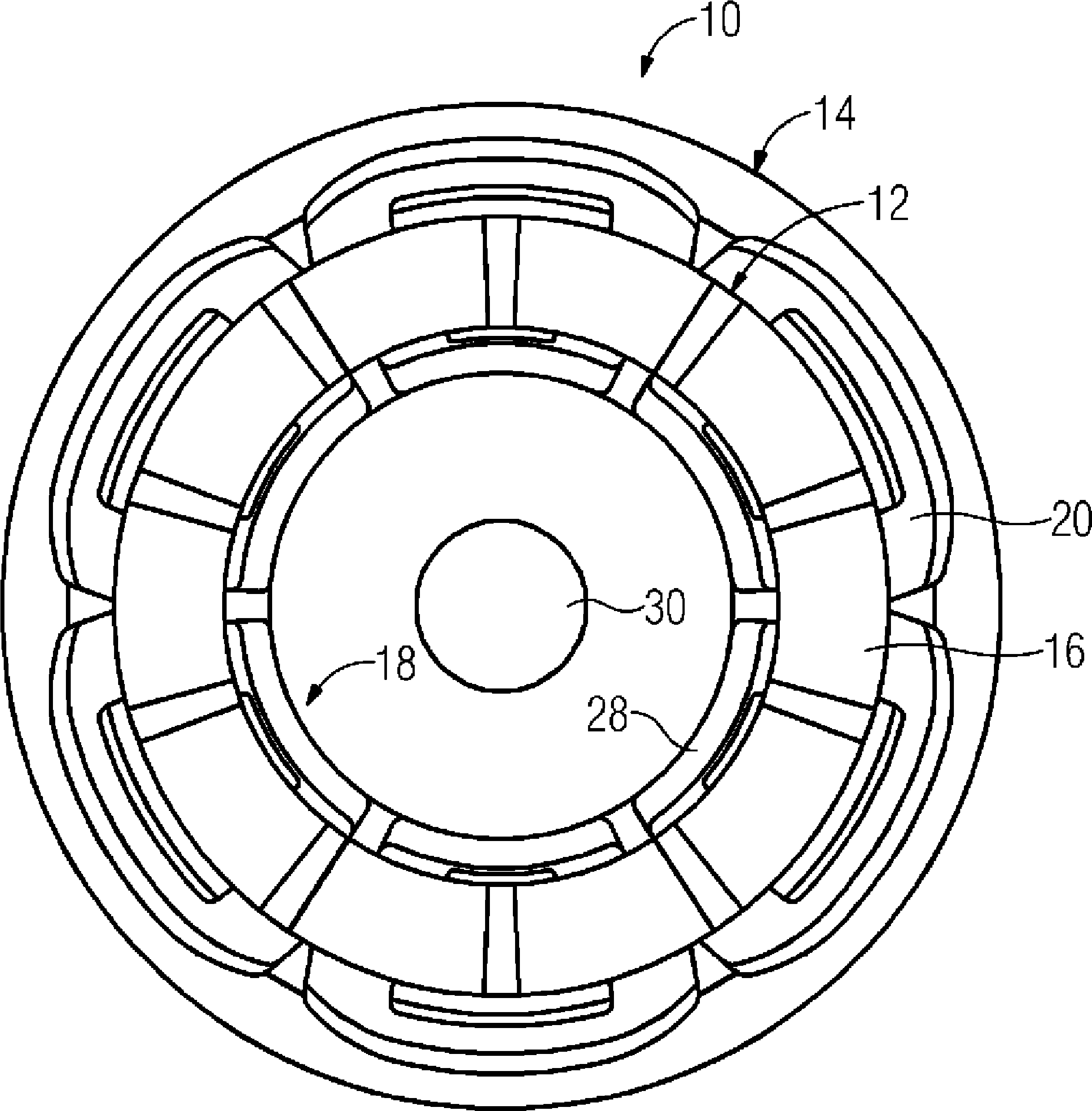
专利摘要:本发明提供一种定子组件、电机、空调器,其中定子组件,包括定子铁芯,所述定子铁芯的轭部构造有多条冷却流道,所述冷却流道包括第一流通段,沿着所述定子铁芯的轴向,所述第一流通段的径向断面的面积递减。根据本发明,所述第一流通段的一端的径向断面面积大于另一端的径向断面面积,如此,在第一流通段的径向截面面积小的区域也即定子铁芯的开孔较小,能够防止由于开孔过大导致铁芯轭部铁耗激增,同时在第一流通段的径向截面面积大的区域则能够保证冷却介质的流量,进而保证对电机的定子铁芯的有效冷却,保证冷却效果,进而能够提升电机的功率密度、转矩密度以及稳定性。

图片来源于网络,如有侵权,请联系删除
今年以来格力电器新获得专利授权3678个,较去年同期减少了5.16%。结合公司2024年年报财务数据,2024年公司在研发方面投入了69.04亿元,同比增2.1%。
通过天眼查大数据分析,珠海格力电器股份有限公司共对外投资了101家企业,参与招投标项目27988次;财产线索方面有商标信息8135条,专利信息115189条,著作权信息297条;此外企业还拥有行政许可827个。

图片来源于网络,如有侵权,请联系删除
数据来源:天眼查APP
以上内容为证券之星据公开信息整理,由AI算法生成(网信算备310104345710301240019号),不构成投资建议。
