证券之星消息,根据天眼查APP数据显示光弘科技(300735)新获得一项实用新型专利授权,专利名为“一种螺钉锁附半自动平台”,专利申请号为CN202422239350.5,授权日为2025年7月11日。

图片来源于网络,如有侵权,请联系删除
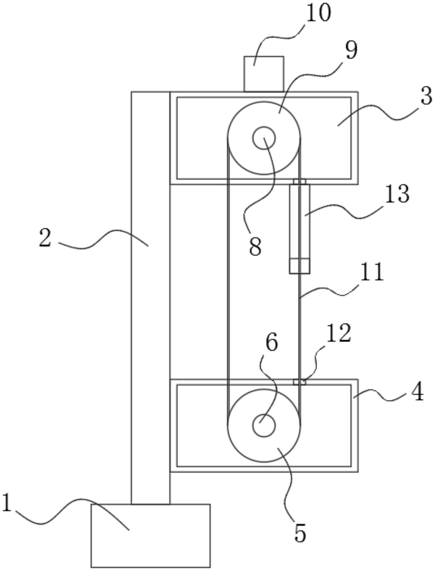
专利摘要:本实用新型是一种一种螺钉锁附半自动平台,包括:机架,所述机架上设有水平传送机构、升降机构、以及盖板机构,所述升降机构位于所述水平传送机构的下方,所述盖板机构位于所述水平传送机构的上方;所述升降机构上设有第一夹持组件,所述水平传送机构上设有第二夹持组件,所述第一夹持组件和第二夹持组件分别沿不同的方向来持产品;所述盖板机构包括活动盖板、以及用于驱使所述活动盖板相对于所述机架移动的盖板驱动件。本实用新型具有产品定位精准、安全系数高、工作效率高且工作强度低等优点。
今年以来光弘科技新获得专利授权7个,较去年同期增加了250%。结合公司2024年年报财务数据,2024年公司在研发方面投入了1.38亿元,同比增7.13%。

图片来源于网络,如有侵权,请联系删除
通过天眼查大数据分析,惠州光弘科技股份有限公司共对外投资了9家企业,参与招投标项目461次;财产线索方面有商标信息9条,专利信息160条,著作权信息21条;此外企业还拥有行政许可114个。
数据来源:天眼查APP
以上内容为证券之星据公开信息整理,由AI算法生成(网信算备310104345710301240019号),不构成投资建议。
