证券之星消息,根据天眼查APP数据显示三峡能源(600905)新获得一项实用新型专利授权,专利名为“变压器呼吸油杯拆卸装置”,专利申请号为CN202421695555.8,授权日为2025年7月4日。

图片来源于网络,如有侵权,请联系删除
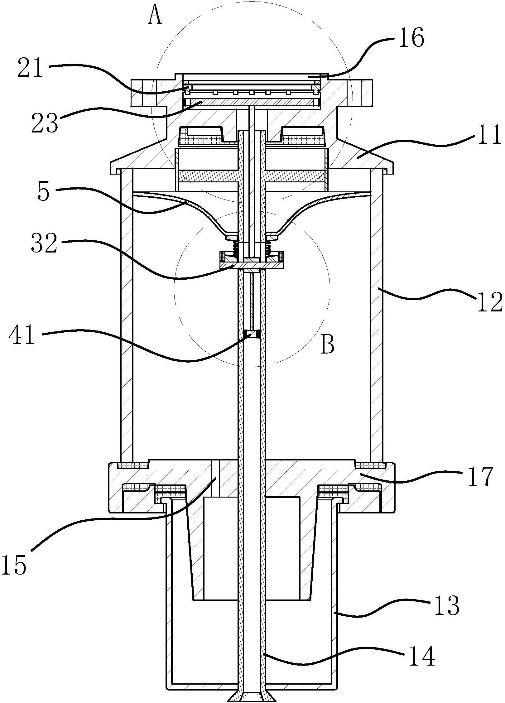
专利摘要:本申请实施例提供一种变压器呼吸油杯拆卸装置,包括油杯底座、第一圆弧固定板、第二圆弧固定板和导向柱,所述油杯底座的底部设置有导向套管,所述导向套管套设在所述导向柱上,并可在所述导向柱上移动;所述第一圆弧固定板设置在所述导向柱上,所述第二圆弧固定板设置在所述油杯底座上,所述油杯底座设置在所述导向柱上;所述第一圆弧固定板和所述第二圆弧固定板的内表面相对设置,以形成夹持空间;所述油杯底座通过所述导向套管在所述导向柱上水平移动,以使所述第二圆弧固定板靠近或远离所述第一圆弧固定板,以实现呼吸油杯的夹持固定。该装置能够提高呼吸油杯的装卸效率。
今年以来三峡能源新获得专利授权98个,较去年同期减少了25.76%。结合公司2024年年报财务数据,2024年公司在研发方面投入了4252.82万元,同比增146.79%。
通过天眼查大数据分析,中国三峡新能源(集团)股份有限公司共对外投资了519家企业,参与招投标项目4621次;财产线索方面有商标信息3条,专利信息792条,著作权信息63条;此外企业还拥有行政许可9个。
数据来源:天眼查APP
以上内容为证券之星据公开信息整理,由AI算法生成(网信算备310104345710301240019号),不构成投资建议。

