证券之星消息,根据天眼查APP数据显示中南股份(000717)新获得一项发明专利授权,专利名为“一种锅炉设备及运行方法”,专利申请号为CN202210708251.X,授权日为2025年6月27日。
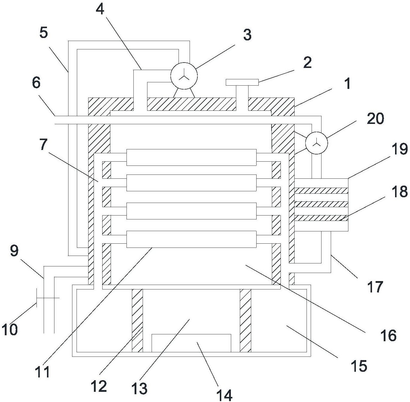
专利摘要:本发明涉及锅炉技术领域,具体公开了一种锅炉设备及运行方法。本锅炉设备包括首尾相连的介质供应模块、介质输送模块和介质处理模块,介质输送模块包括形成了过滤腔的混合过滤器、选择性地连通于过滤腔底部的提压介质供应单元、与过滤腔的顶部相连通的泵体组件和形成了缓冲腔的缓冲罐;过滤腔内充满液体,介质供应模块连通于过滤腔底部;泵体组件能够向介质处理模块输送液体,包括相并联的第一给水泵和第二给水泵;缓冲腔内充满液体,且与两个给水泵容积相同,两个给水泵下游分别与缓冲腔顶部选择性地连通,泵体组件中的液体朝向缓冲腔流动。本锅炉设备的结构改进能够实现对在用泵的进口压力和备用泵内温度的调节,降低了锅炉给水泵损伤的风险。
今年以来中南股份新获得专利授权31个,较去年同期减少了56.94%。结合公司2024年年报财务数据,2024年公司在研发方面投入了6.21亿元,同比减19.27%。

图片来源于网络,如有侵权,请联系删除
通过天眼查大数据分析,广东中南钢铁股份有限公司共对外投资了11家企业,参与招投标项目6169次;财产线索方面有商标信息5条,专利信息2556条,著作权信息24条;此外企业还拥有行政许可2000个。
数据来源:天眼查APP
以上内容为证券之星据公开信息整理,由AI算法生成(网信算备310104345710301240019号),不构成投资建议。
