证券之星消息,根据天眼查APP数据显示中大力德(002896)新获得一项实用新型专利授权,专利名为“一种无刷驱动轮电机霍尔安装结构”,专利申请号为CN202422206529.0,授权日为2025年6月27日。

图片来源于网络,如有侵权,请联系删除
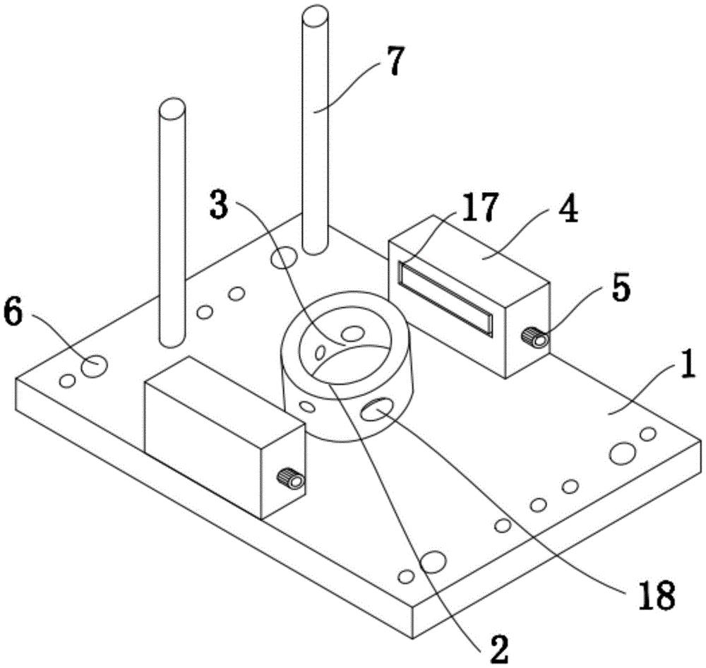
专利摘要:本申请涉及一种无刷驱动轮电机霍尔安装结构,包括安装于电机壳体端部的安装端盖、安装于所述安装端盖的外侧面的霍尔支座、安装于所述霍尔支座的霍尔板以及安装于电机转轴端部且与电机转子极性一致的磁环;所述霍尔板具有周向间隔布置的霍尔元件,所述安装端盖、所述霍尔支座和所述霍尔板均具有用于供电机转轴穿过的通孔,所述磁环布置于所述霍尔元件的一侧。本申请具有改善无刷驱动轮电机霍尔安装结构更换霍尔元件较为繁琐的效果。
今年以来中大力德新获得专利授权12个。结合公司2024年年报财务数据,2024年公司在研发方面投入了6384.95万元,同比减8.79%。
通过天眼查大数据分析,宁波中大力德智能传动股份有限公司共对外投资了7家企业,参与招投标项目55次;财产线索方面有商标信息12条,专利信息279条,著作权信息8条;此外企业还拥有行政许可16个。
数据来源:天眼查APP
以上内容为证券之星据公开信息整理,由AI算法生成(网信算备310104345710301240019号),不构成投资建议。
