证券之星消息,根据天眼查APP数据显示三友医疗(688085)新获得一项发明专利授权,专利名为“固定双棒的可调拉钩组件”,专利申请号为CN202211559096.6,授权日为2025年6月24日。

图片来源于网络,如有侵权,请联系删除
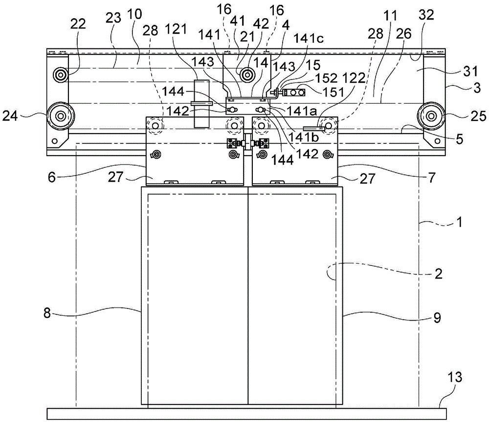
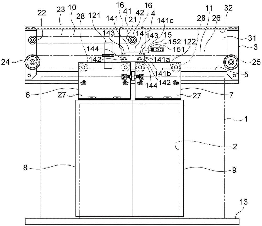
专利摘要:本发明提供一种固定双棒的可调拉钩组件,包括:带杆拉钩,带杆拉钩包括拉钩头和与拉钩头连接的连杆;拉钩头上设有承接槽,拉钩头的上部设有定位通孔,定位通孔的远离承接槽的一端上设有定位内螺纹部;拉钩头的长度方向的其中一端上连接连杆;钩部螺塞安装在定位通孔中;支撑座上设有座体安装槽;支撑座的顶部设有座体轴向安装孔;支撑座上还设有两个相对设置的杆件安装通孔;压紧件插入于座体轴向安装孔中,压紧件的顶部设有压紧容纳槽;压紧件的底部设有压紧槽。本发明是一种能够调整两个固定棒间距和角度的固定双棒的可调拉钩组件。

图片来源于网络,如有侵权,请联系删除
今年以来三友医疗新获得专利授权5个,较去年同期减少了54.55%。结合公司2024年年报财务数据,2024年公司在研发方面投入了8428.84万元,同比增29.24%。
通过天眼查大数据分析,上海三友医疗器械股份有限公司共对外投资了21家企业,参与招投标项目171次;财产线索方面有商标信息124条,专利信息290条;此外企业还拥有行政许可423个。
数据来源:天眼查APP
以上内容为证券之星据公开信息整理,由AI算法生成(网信算备310104345710301240019号),不构成投资建议。
