证券之星消息,根据天眼查APP数据显示鞍钢股份(000898)新获得一项实用新型专利授权,专利名为“一种多工位样品桶自动清洁装置”,专利申请号为CN202421610032.9,授权日为2025年6月24日。
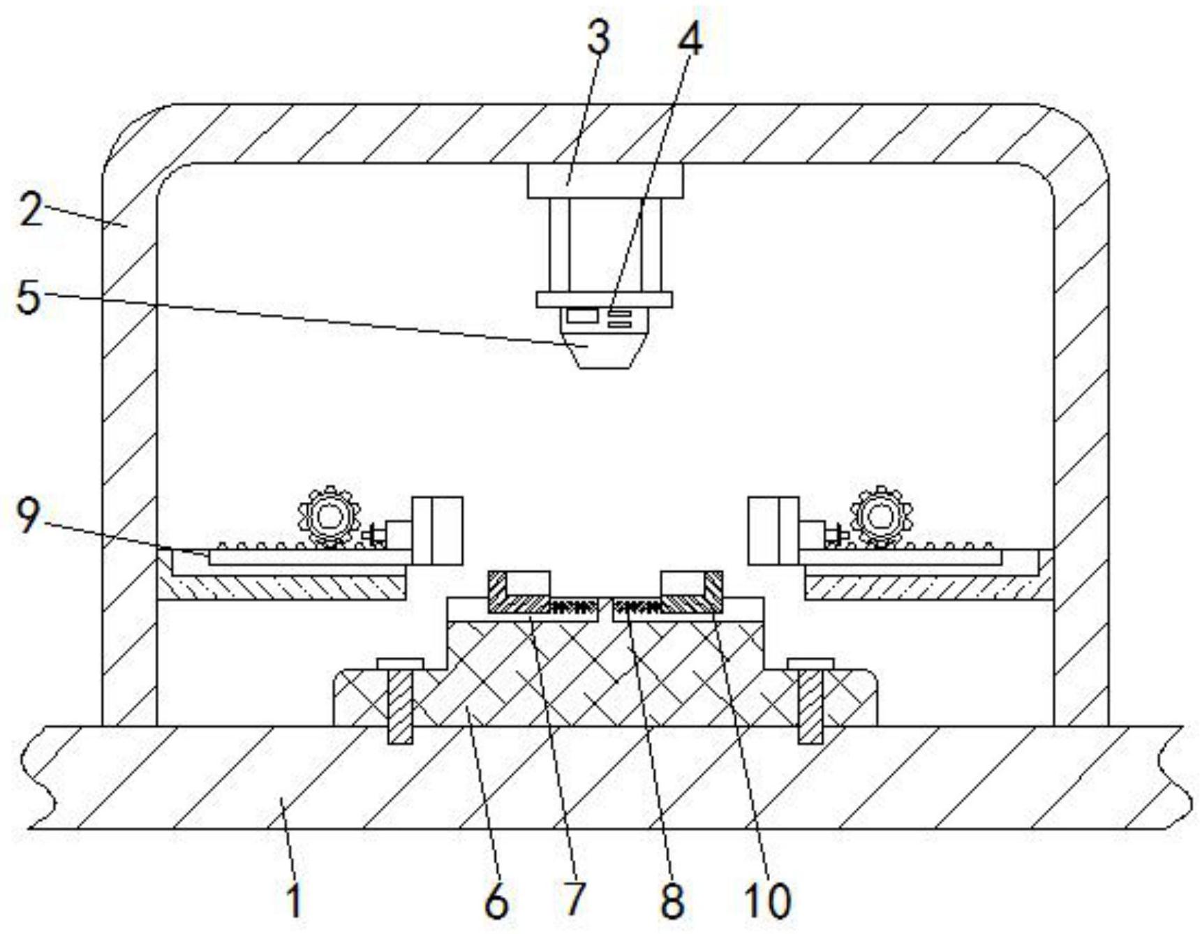
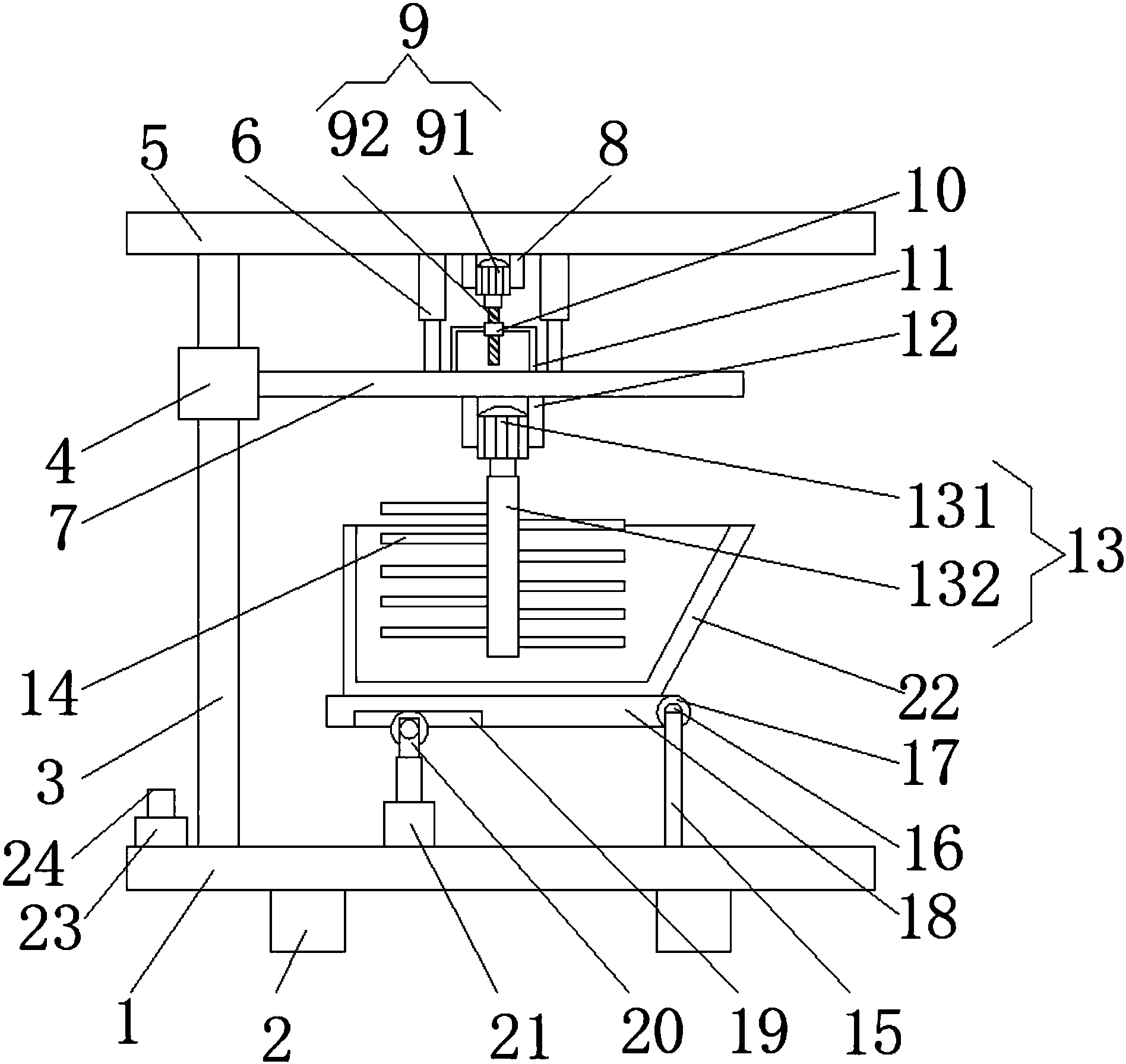
专利摘要:本实用新型涉及一种多工位样品桶自动清洁装置,包括两辊道机,两辊道机中间设有清洗通道,清洗通道上方的两侧设有支座连接在辊道机上,支座上方设有多个由两侧夹持样品桶的桶夹紧装置,桶夹紧装置上方设有用于对样品桶限位的限位座,在桶夹紧装置上设有检测传感器,清洗通道内的底部间隔设有升降的清洗装置,清洗装置与桶夹紧装置的位置对应,在辊道机的底部设有收集水槽。本实用新型实现样品桶批量自动清洁。倒置式清洁,清洁彻底。避免样品交叉污染。降低劳动强度,解放人力,提高检测效率。
今年以来鞍钢股份新获得专利授权184个,较去年同期增加了42.64%。结合公司2024年年报财务数据,2024年公司在研发方面投入了4.68亿元,同比减5.07%。

图片来源于网络,如有侵权,请联系删除
通过天眼查大数据分析,鞍钢股份有限公司共对外投资了51家企业,参与招投标项目64126次;财产线索方面有商标信息11条,专利信息10335条,著作权信息138条;此外企业还拥有行政许可611个。

图片来源于网络,如有侵权,请联系删除
数据来源:天眼查APP
以上内容为证券之星据公开信息整理,由AI算法生成(网信算备310104345710301240019号),不构成投资建议。
