证券之星消息,根据天眼查APP数据显示创力集团(603012)新获得一项实用新型专利授权,专利名为“行星机构行星轮轴装配用的定位装置”,专利申请号为CN202421713876.6,授权日为2025年6月24日。

图片来源于网络,如有侵权,请联系删除
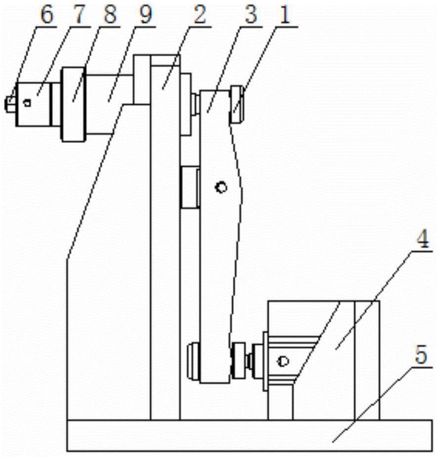
专利摘要:本实用新型公开一种行星机构行星轮轴装配用的定位装置,所述行星机构包括行星架及安装在行星架上的轴承、内隔套、行星轮,其中所述定位装置包括:用于插入行星架销轴孔与行星轮轴承孔内的多个第一定位芯轴;用于插入行星架中心通孔内的第二定位芯轴;用于套装在行星架外圆台阶上的行星架定位套。本实用新型定位装置,在装配行星机构时,行星轮轴与行星架销轴孔、行星轮轴承孔三者中心易对准,敲击行星轮轴时行星轮组件在行星架中不易窜动,内隔套在行星轮内孔中不易走动,确保行星轮轴顺利装入,提高行星轮轴安装的精度与效率。
今年以来创力集团新获得专利授权15个,较去年同期增加了36.36%。结合公司2024年年报财务数据,2024年公司在研发方面投入了1.35亿元,同比减3.51%。

图片来源于网络,如有侵权,请联系删除
通过天眼查大数据分析,上海创力集团股份有限公司共对外投资了31家企业,参与招投标项目2372次;财产线索方面有商标信息3条,专利信息297条,著作权信息55条;此外企业还拥有行政许可143个。
数据来源:天眼查APP
以上内容为证券之星据公开信息整理,由AI算法生成(网信算备310104345710301240019号),不构成投资建议。
