证券之星消息,根据天眼查APP数据显示江苏雷利(300660)新获得一项实用新型专利授权,专利名为“一种定子铁芯及包含其的定子组件和进气格栅执行器”,专利申请号为CN202422094359.1,授权日为2025年6月20日。

图片来源于网络,如有侵权,请联系删除
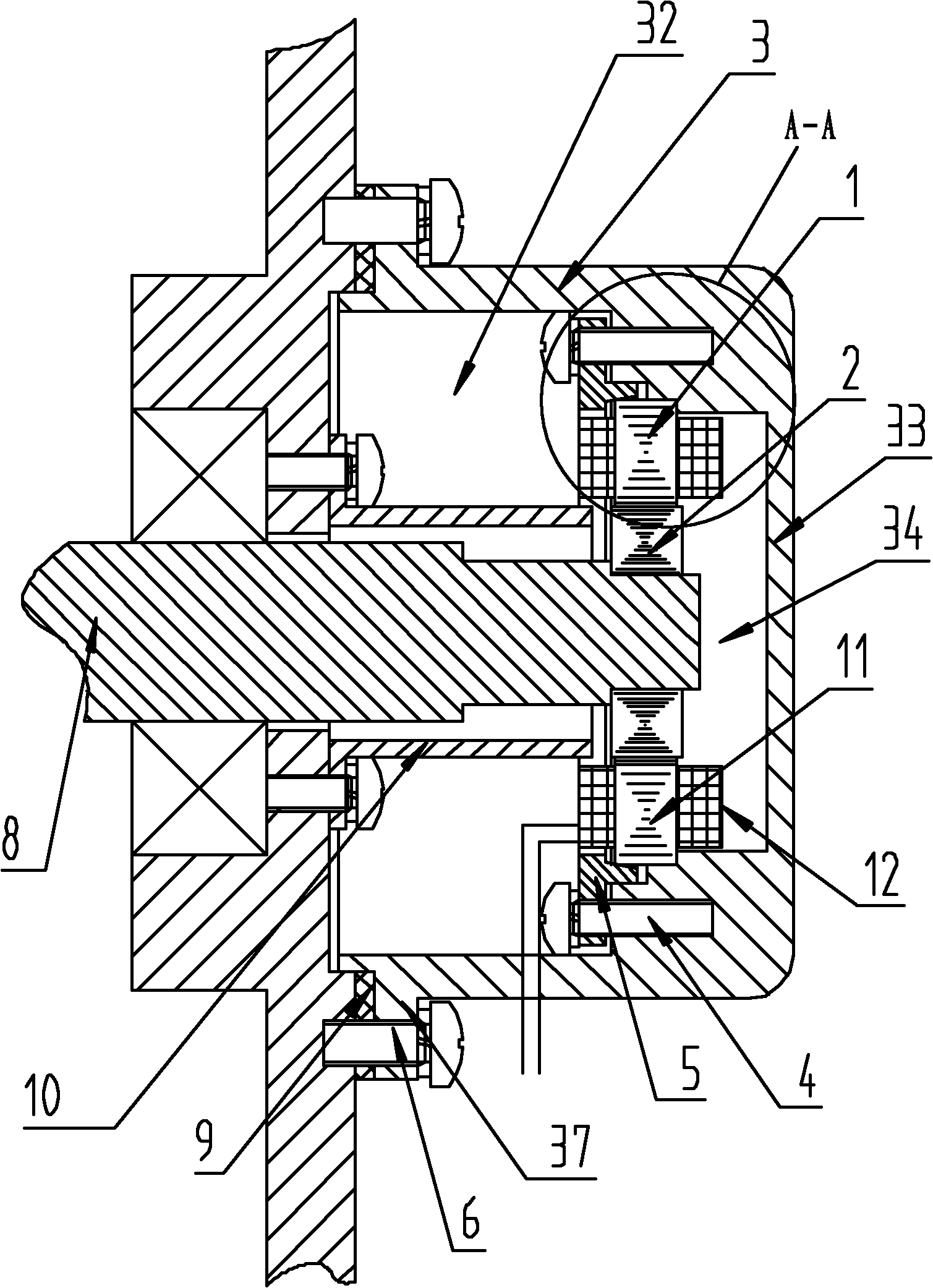
专利摘要:本实用新型公开了一种定子铁芯及包含其的定子组件和进气格栅执行器,包括环形轭部以及由环形轭部向其轴心延伸的多个齿部,在轭部与齿部交接的位置均匀设置有多个轴向贯通定子铁芯的通孔,在相邻的通孔之间的齿部的径向外侧设置有轴向贯通的弧形槽;任意所述弧形槽能够作为定子铁芯注塑时的定位孔;任意所述通孔在定子铁芯注塑成型后能够形成轴向贯通的接地端子插孔;任意所述弧形槽在定子铁芯注塑成型后能够形成轴向贯通的三相端子插孔。本实用新型将连接接地端子和三相端子的端子孔均设置在定子铁芯上,同时将注塑定位孔与端子孔通用化,既实现了电机的小型化设计,又提高了定子铁芯的通用性,便于在绝缘骨架注塑时一体成型。
今年以来江苏雷利新获得专利授权67个,较去年同期增加了109.38%。结合公司2024年年报财务数据,2024年公司在研发方面投入了1.68亿元,同比增14.46%。

图片来源于网络,如有侵权,请联系删除
通过天眼查大数据分析,江苏雷利电机股份有限公司共对外投资了38家企业,参与招投标项目61次;财产线索方面有商标信息13条,专利信息992条,著作权信息10条;此外企业还拥有行政许可40个。
数据来源:天眼查APP
以上内容为证券之星据公开信息整理,由AI算法生成(网信算备310104345710301240019号),不构成投资建议。
