证券之星消息,根据天眼查APP数据显示中电电机(603988)新获得一项发明专利授权,专利名为“一种同步电机转子磁极生产工艺”,专利申请号为CN202211462060.6,授权日为2025年6月6日。
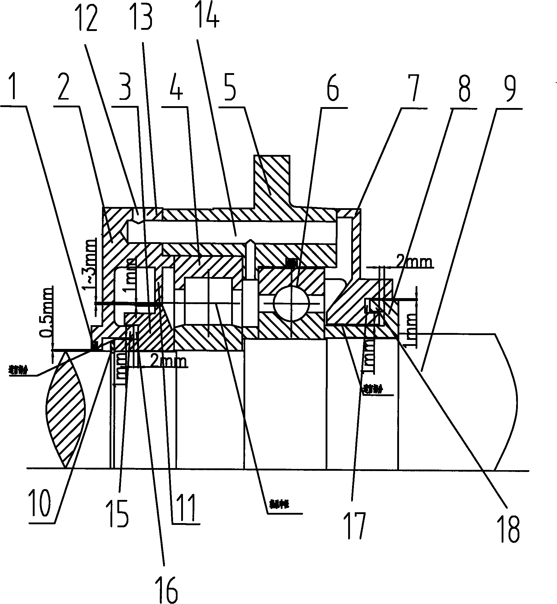
专利摘要:本发明涉及一种同步电机转子磁极生产工艺,属于电机制造领域,其包括以下步骤:步骤1,制作铜母线圈;步骤2,制作匝间绝缘垫片;步骤3,制作铜母线圈匝间绝缘;步骤4,制作磁极线圈;步骤5,磁极铁心烫包处理;步骤6,电机转子磁极组装及对地绝缘加强处理;步骤7,磁极浸漆及清理。本发明通过对线圈制作工艺、磁极烫包工艺、线圈套装工艺、磁极托板焊接结构的优化来提高磁极的外观质量,减少对地及匝间绝缘故障,提高同步机的质量,延长电机使用寿命。
今年以来中电电机新获得专利授权3个,较去年同期增加了50%。结合公司2024年年报财务数据,2024年公司在研发方面投入了2493.75万元,同比减8.06%。

图片来源于网络,如有侵权,请联系删除
数据来源:天眼查APP
以上内容为证券之星据公开信息整理,由AI算法生成(网信算备310104345710301240019号),不构成投资建议。
